Cart
/

TH-เครื่องดูดฝุ่นไร้สาย XDJH001 คู่มือผู้ใช้ รุ่นภาษาไทย

Video - เครื่องดูดฝุ่นไร้สาย

Ⅰ.  ข้อมูลจำเพาะ

ชื่อสินค้า

เครื่องดูดฝุ่นไร้สาย

Model No.

X8

แรงดันไฟฟ้า

22.2Vdc

กำลังไฟ

200W

เวลาในการทำงาน

>35min

เวลาในการชาร์จ

5.5-7H

ความจุถังน้ำสะอาด

600ML

ความจุถังน้ำเสีย

800ML

ระดับการกันน้ำ

IPX4

คลาสเครื่องใช้ไฟฟ้า

Class Ⅲ

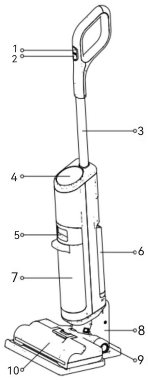
Ⅱ. รูปภาพอุปกรณ์การติดตั้ง

  1. สวิตช์เปิด/ปิด
  2. ปุ่มโหมด
  3. ท่ออลูมิเนียม 
  4. หน้าจอ LED 
  5. ปุ่มกดถังน้ำทิ้ง 
  6. ถังน้ำ
  7. ถังน้ำเสีย
  8. แท่นชาร์จ
  9. ล้อ 
  10. ฝาครอบลูกกลิ้ง
  • แท่นชาร์จ

  • หน้าจอแสดงผล
  • การติดตั้งที่จับ

  1. เสียบปลายด้ามจับเข้ากับตัวเครื่องตามแนวตั้งของสายไฟ จะมีเสียงหลังจาก "คลิก" ให้ใส่สกรูแล้วขันให้แน่นด้วยไขควง ,เพื่อให้แน่ใจว่าที่จับแน่นและไม่หลวม คือการติดตั้งสำเร็จ
  2. หากต้องการแยกชิ้นส่วน ,โปรดถอดสกรูที่ด้านหลังลำตัวออก แล้วดึงที่จับขึ้นเพื่อทำการแยกชิ้นส่วนให้เสร็จสิ้น

Ⅲ. คู่มือการใช้งาน

  • ชาร์จแบต
  • หมายเหตุ: ชาร์จให้เต็มก่อนใช้งานครั้งแรก
  1. วางฐานชาร์จบนพื้นราบกับผนัง เชื่อมต่อปลายด้านหนึ่งของอะแดปเตอร์ไฟฟ้าเข้ากับแท่นชาร์จ และปลายอีกด้านเข้ากับเต้ารับไฟฟ้าภายในบ้าน
  2. เพื่อหลีกเลี่ยงอันตรายจากการสะดุด ให้วางอุปกรณ์บนฐานชาร์จใกล้กับผนังขณะชาร์จ ,หน้าจอบนแท่นชาร์จจะสว่างขึ้นเพื่อแสดงสถานะการชาร์จ
  • ความร้อนและการทำให้แห้ง (เลือก)
  1. หลังจากวางอุปกรณ์ลงในฐานชาร์จ , ระบบจะเปิดฟังก์ชันทำความร้อนและอบแห้งโดยอัตโนมัติหลังจากที่ระบบตรวจพบว่ากำลังชาร์จ และฟังก์ชันจะปิดโดยอัตโนมัติหลังจากนำอุปกรณ์ออกไป
  2. ตั้งอุณหภูมิความร้อนไม่เกิน 45°C เครื่องทำความร้อนจะปิดโดยอัตโนมัติเมื่ออุณหภูมิสูงกว่า 45°C และฟังก์ชันทำความร้อนจะเปิดเมื่ออุณหภูมิต่ำกว่า 45°C ตั้งเวลาทำความร้อนไว้ที่ 8 ชม.

  • ข้อควรระวัง:
  1. ใช้เฉพาะอะแดปเตอร์ที่ให้มาเพื่อชาร์จอุปกรณ์เท่านั้น
  2. ในช่วงที่ไม่ได้ใช้งานเป็นเวลานาน ต้องชาร์จอุปกรณ์ทุกๆ 3 เดือนเพื่อประสิทธิภาพสูงสุด อาจใช้เวลา 5-7 ชั่วโมงในการชาร์จจนเต็ม
  • พร้อมใช้งาน
  • หมายเหตุ: โปรดชาร์จอุปกรณ์ก่อนใช้งานครั้งแรก (ดูรายละเอียด "คำแนะนำในการชาร์จ")
  1. กดปุ่มค้างไว้ 2 วินาทีเพื่อเปิดอุปกรณ์ กดปุ่มสั้น ๆ และอุปกรณ์จะเริ่มทำงานโดยอัตโนมัติ กดอีกครั้งเป็นเวลา 2 วินาทีเพื่อปิดอุปกรณ์

  • หมดการทำความสะอาด:
  1. เริ่มเข้าสู่โหมดถูเปียกโดยค่าเริ่มต้น กดปุ่มโหมดถูเปียกค้างไว้เพื่อเปลี่ยนอุปกรณ์เป็นโหมดดูดแห้ง
  2. กดปุ่มเพาเวอร์สั้น ๆ เพื่อเข้าสู่โหมดพลังงาน , กดปุ่มเพาเวอร์อีกครั้งเพื่อยกเลิก
  3. อย่าเอียงอุปกรณ์มากกว่า 140° เพื่อป้องกันน้ำรั่วไหลออก
  4. หลังการใช้งาน, ให้วางอุปกรณ์ในแนวตั้งบนฐานชาร์จเพื่อชาร์จและจัดเก็บ

  • ทำความสะอาดอัตโนมัติง่ายในคลิกเดียว
  • สามารถเปิดใช้งานการทำความสะอาดตัวเองได้เฉพาะเมื่อชาร์จอุปกรณ์และแบตเตอรี่มีมากกว่า 10%
  1. ยืนอุปกรณ์ตั้งตรงบนฐานชาร์จ ,ตรวจสอบให้แน่ใจว่าถังน้ำสำหรับทำความสะอาด
  2. กดปุ่มที่จับสั้นๆ ,ไฟแสดงสถานะการทำความสะอาดตัวเองบนหน้าจอจะสว่างขึ้น และการทำความสะอาดตัวเองจะเริ่มต้นขึ้น
  3. หลังจากทำความสะอาดเสร็จแล้ว ,อุปกรณ์จะยังคงชาร์จต่อไป
  4. หลังจากทำความสะอาดเสร็จแล้ว ให้ทำความสะอาดถังจุน้ำเสียทันที

  • ถังเก็บน้ำสะอาด
  1. กดปุ่มปลดล็อคถังทำความสะอาดเพื่อถอดออกจากตัวเครื่อง
  2. เปิดฝาถังเก็บน้ำและเติมน้ำสะอาดลงในถังเก็บน้ำ หลังจากเติมน้ำแล้ว ให้ปิดฝาถังให้แน่น
    **หมายเหตุ: ใช้กับน้ำที่มีอุณหภูมิต่ำกว่า 140°F/60°C เท่านั้น , อย่าใช้น้ำร้อน
  3. ใส่ถังน้ำกลับเข้าไปในเครื่อง ให้ได้ยินเสียง "คลิก"

  • การทำความสะอาดถังจุน้ำเสีย
  • หมายเหตุ: ขอแนะนำให้ล้างถังเก็บน้ำทิ้งหลังการใช้งานทุกครั้ง ,หลังจากเปิดใช้ฟังก์ชันทำความสะอาด
  1. กดปุ่มปลดถังจุน้ำเสียแล้วดึงออกตามคำแนะนำ
  2. จับถังน้ำด้วยมือข้างหนึ่ง ,ดึงฝาปิดถังน้ำด้วยมืออีกข้าง ใช้ช้อนกรองกรองและเทน้ำสกปรกออกเพื่อแยกขยะแห้งและขยะเปียก
  3. างถังและฝาครอบถังด้วยน้ำสะอาด ,ทำความสะอาดผนังด้านในของถังด้วยแปรงทำความสะอาดที่ให้มา
  4. หลังจากทำความสะอาด ,ติดตั้งฝาปิดถังเก็บน้ำและล็อคด้านล่างของถังเก็บน้ำเข้ากับอุปกรณ์ ให้ดันถังน้ำเบา ๆ ,จนกระทั่งได้ยินเสียง "คลิก"

  • ตัวกรองสะอาด
  • หมายเหตุ: แนะนำให้ทำความสะอาดหลังการใช้งานทุกครั้ง
  1. ถอดตัวกรองออกจากด้านบนของถังน้ำ, ล้างตัวกรองด้วยน้ำสะอาด ,เช็ดให้แห้งก่อนติดตั้งใหม่

  • แปรงลูกกลิ้งทำความสะอาดฝาครอบ
  1. กดปุ่มแล้วดึงขึ้นเพื่อถอดฝาครอบแปรงออก ล้างออกด้วยน้ำสะอาด, เมื่อเปลี่ยน ให้จับที่ครอบแปรงให้เข้าที่เสมอเพื่อป้องกันการรั่วไหล

  • การทำความสะอาดลูกกลิ้ง
  1. ดึงที่จับด้านซ้ายของแปรงลูกกลิ้งขึ้น แล้วถอดแปรงลูกกลิ้งออก
  2. ใช้แปรงทำความสะอาดที่ให้มาด้วยเพื่อขจัดเศษผมและเศษผงที่ติดอยู่กับแปรงลูกกลิ้งแล้วล้างออกด้วยน้ำสะอาด ,แปรงลูกกลิ้งต้องแห้งสนิทก่อนใช้งาน
  3. ใช้กระดาษเช็ดมือหรือผ้าชุบน้ำหมาดๆ เพื่อขจัดเส้นผมและสิ่งสกปรกออกจากช่องเก็บแปรงและช่องระบายน้ำเสีย เมื่อ
  4. ทำความสะอาดเสร็จแล้วให้จัดตำแหน่งปลายด้านขวาของแปรงลูกกลิ้งให้ตรงกับช่องด้านขวาของตัวเครื่อง และดันปลายด้านซ้ายเข้าไปในช่องด้านซ้ายของตัวเครื่องจนกว่าจะคลิกเข้าที่
  • ข้อสังเกต: อุปกรณ์มาพร้อมกับแปรงลูกกลิ้งสำรองเพื่อให้เปลี่ยนได้ง่าย

Ⅳ. เกี่ยวกับน้ำยาทำความสะอาด

  1. เมื่อน้ำยาทำความสะอาดจำนวนมากเข้าสู่มอเตอร์ ,อาจทำให้อุปกรณ์เสียหายได้
  2. ทำตามคำแนะนำในส่วนการดำเนินการเพื่อเพิ่มโซลูชัน ,ขอแนะนำให้ใช้น้ำยาทำความสะอาดที่มีให้ ห้ามใช้ผลิตภัณฑ์ที่มีส่วนผสมของสารละลายที่เป็นกรด ด่าง หรือสารใดๆ ที่เป็นอันตรายต่อสิ่งแวดล้อม
  3. เก็บให้พ้นมือเด็ก ,หากเข้าตาให้ล้างออกด้วยน้ำสะอาดทันที หากกลืนกินสารละลายใดเข้าไปโดยไม่ได้ตั้งใจ ,ให้ไปพบแพทย์ทันที
  4. การกำจัดสิ่งปฏิกูลและสารละลายควรเป็นไปตามข้อบังคับด้านสิ่งแวดล้อมในท้องถิ่น

Ⅴ. ข้อควรระวัง

  • เมื่อใช้เครื่องใช้ไฟฟ้าควรปฏิบัติตามข้อควรระวังพื้นฐานเสมอ ได้แก่ :
  • อ่านคำแนะนำทั้งหมด (อุปกรณ์นี้) ก่อนใช้งาน การไม่ปฏิบัติตามคำเตือนและคำแนะนำอาจส่งผลให้เกิดไฟฟ้าช็อต ไฟไหม้ หรือบาดเจ็บสาหัสได้
  • คำเตือน: เพื่อลดความเสี่ยงจากไฟไหม้ ,ไฟฟ้าช็อต ,หรือการบาดเจ็บ:
  1. ใช้ตามที่อธิบายไว้ในคู่มือผู้ใช้นี้เท่านั้น ,ใช้อุปกรณ์เสริมที่แนะนำโดยผู้ผลิตเท่านั้น
  2. สำหรับใช้ภายในอาคารเท่านั้น บนพื้นที่ไม่ใช่พรม เช่น ไวนิล กระเบื้อง ไม้ปิดผิว ฯลฯ ,ระวังอย่าวิ่งทับวัตถุที่หลวมหรือขอบของพรมปูพื้น
  3. ไม่อนุญาตให้ใช้เป็นของเล่น ต้องให้ความสนใจอย่างใกล้ชิดเมื่อมีเด็ก สัตว์เลี้ยง หรือต้นไม้กำลังใช้หรืออยู่ใกล้สิ่งเหล่านั้น
  4. ห้ามจับที่ชาร์จ รวมทั้งปลั๊กชาร์จและขั้วชาร์จด้วยมือที่เปียก
  5. อย่าใส่วัตถุใด ๆ เข้าไปในช่องเปิด ห้ามใช้หากมีการปิดกั้นช่องเปิด เก็บให้ห่างจากฝุ่น ผ้าสำลี เส้นผม และสิ่งใดก็ตามที่อาจลดการไหลของอากาศ
  6. ห้ามจุ่มอุปกรณ์ลงในของเหลว ใช้เฉพาะบนพื้นเปียกในระหว่างการทำความสะอาด
  7. ห้ามใช้โดยไม่มีตัวกรอง
  8. ระมัดระวังเมื่อทำความสะอาดบันได
  9. ป้องกันการเปิดใช้งานโดยไม่ตั้งใจ ,ก่อนหยิบหรือพกพาอุปกรณ์ ,ตรวจสอบให้แน่ใจว่าสวิตช์อยู่ในตำแหน่งปิด
  10. อุปกรณ์นี้ไม่เหมาะสำหรับเด็กอายุไม่เกิน 8 ปี และบุคคลที่มีความสามารถทางร่างกาย ประสาทสัมผัส หรือสติปัญญาบกพร่อง หรือขาดประสบการณ์และความรู้ หากพวกเขาได้รับการดูแลหรือคำแนะนำในการใช้อุปกรณ์อย่างปลอดภัยและเข้าใจถึงอันตรายที่เกี่ยวข้อง เด็กไม่ควรเล่นอุปกรณ์นี้ เด็กไม่ควรทำความสะอาดและบำรุงรักษาผู้ใช้โดยไม่มีผู้ดูแล
  11. ปิดเครื่องทำความสะอาดและถอดปลั๊กออกจากเต้าเสียบเพื่อการจัดเก็บในระยะยาว
  12. ทำความสะอาดถังจุน้ำสกปรกทุกครั้งหลังการใช้งานเพื่อหลีกเลี่ยงการอุดตันที่อาจทำให้เกิดการดูดต่ำ ,มอเตอร์ร้อนเกินไป หรือลดอายุการใช้งานของเครื่อง
  13. จัดเก็บในที่เหมาะสม ,ในที่แห้งภายในอาคารหลังการใช้งาน
  14. ห้ามใช้เครื่องเมื่อระดับน้ำลึกเกิน 5 มม. เหนือผิวน้ำ
  15. ห้ามวางหรือแช่อุปกรณ์ในน้ำนิ่ง หรือพยายามทำความสะอาดบริเวณที่มีน้ำท่วมขัง
  16. ฟิล์มพลาสติกอาจเป็นอันตรายได้ ,เพื่อหลีกเลี่ยงอันตรายจากการสำลัก ,ควรเก็บให้พ้นมือเด็ก
  17. ใช้เฉพาะชนิดและปริมาณของไหลที่ระบุไว้ในส่วนปฏิบัติการของคู่มือนี้ ,ของเหลวต้องไม่พุ่งไปที่อุปกรณ์ที่มีส่วนประกอบของไฟฟ้า
  18. อย่าใช้เครื่องดูดฝุ่นที่ทำให้สายไฟหรือปลั๊กเสียหาย ,หากสายไฟหรือปลั๊กเสียหาย จะต้องเปลี่ยนโดยผู้ผลิต ,ตัวแทนบริการ หรือบุคคลที่มีคุณสมบัติใกล้เคียงกัน เพื่อหลีกเลี่ยงอันตราย
  19. ใช้สำหรับเก็บสารอันตรายและสารเคมี เช่น ตัวทำละลาย น้ำยาล้างท่อระบายน้ำ ,กรดแก่ หรือเบสแก่
  20. ห้ามใช้อุปกรณ์นี้ในพื้นที่ปิดซึ่งเต็มไปด้วยสีน้ำมัน ทินเนอร์ผสมสี สารไล่มอดบางชนิด ฝุ่นที่ติดไฟได้ หรือไอระเหยที่ระเบิดได้หรือเป็นพิษอื่นๆ
  21. อย่าหยิบสิ่งของที่เผาไหม้หรือมีควัน เช่น บุหรี่ ,ไม้ขีด หรือขี้เถ้าที่ยังร้อนอยู่
  22. ห้ามใช้หยิบของมีคม เช่น ตะปูโลหะ ,เศษแก้ว, คลิปหนีบกระดาษหรือหมุดโลหะ
  23. หยุดใช้อุปกรณ์ทันทีหากอุปกรณ์ร้อนเกินไป ส่งเสียงดังผิดปกติ มีกลิ่นผิดปกติ ไฟฟช็อต หรือไฟฟ้ารั่ว
  24. ห้ามใช้กับสายหรือเครื่องชาร์จที่ชำรุด ,หากอุปกรณ์ตกหล่น เสียหาย ทิ้งไว้ข้างนอก ตกน้ำ หรือทำงานผิดปกติ ให้ส่งคืนที่ศูนย์บริการ
  25. เก็บสายชาร์จให้ห่างจากพื้นผิวที่ร้อน เช่น เตาผิงหรือเครื่องทำความร้อน , เพื่อป้องกันไม่ให้เคสบิดงอ
  26. ห้ามจับปลั๊กเครื่องชาร์จหรืออุปกรณ์ด้วยมือที่เปียก ในการถอดปลั๊ก ให้จับที่ปลั๊กเครื่องชาร์จ ไม่ควรดึงที่สาย
  27. อย่าดึงหรือถือเครื่องชาร์จด้วยสายเคเบิล ,ใช้สายเคเบิลเป็นที่จับ ปิดประตูบนสายเคเบิล หรือดึงสายเคเบิลบริเวณขอบหรือมุมที่แหลมคม
  28. ปฏิบัติตามคำแนะนำในการชาร์จทั้งหมด และอย่าให้เกินช่วงอุณหภูมิที่ระบุของแบตเตอรี่ ซึ่งจะเพิ่มความเสี่ยงต่อการเกิดไฟไหม้
  29. ห้ามใช้อุปกรณ์ที่ชำรุดหรือดัดแปลง แบตเตอรี่ที่เสียหายหรือดัดแปลงอาจแสดงพฤติกรรมที่คาดเดาไม่ได้ , เสี่ยงต่อการเกิดไฟไหม้ การระเบิด หรือการบาดเจ็บ
  30. อย่าให้อุปกรณ์โดนไฟหรืออุณหภูมิสูง การสัมผัสกับไฟหรืออุณหภูมิสูงกว่า 130°C อาจก่อให้เกิดการระเบิดได้
  31. เมื่อถอดแบตเตอรี่ออก ให้เปิดฝาหลังเพื่อถอดแบตเตอรี่ออก และต้องถอดอุปกรณ์ออกจากแหล่งจ่ายไฟก่อนนำออก แบตเตอรี่ที่ใช้แล้วที่แยกชิ้นส่วนจะถูกใส่ลงในถังแยกขยะพิเศษตามประเภท
  32. เก็บแบตเตอรี่ให้พ้นมือเด็ก ,อย่าใส่แบตเตอรี่ในปากของคุณ ,หากกลืนเข้าไป ให้ติดต่อแพทย์หรือศูนย์ควบคุมสารพิษในพื้นที่
  33. อย่าเผาอุปกรณ์แม้ว่าอุปกรณ์จะได้รับความเสียหายอย่างรุนแรงต้องทิ้งแบตเตอรี่อย่างปลอดภัยและนำออกจากอุปกรณ์ก่อนหมดอายุการใช้งานเพื่อหลีกเลี่ยงการระเบิดในกองไฟ
  • การป้องกันที่สำคัญ
  1. ดำเนินการซ่อมแซมโดยช่างบริการที่มีคุณสมบัติเหมาะสมโดยใช้ชิ้นส่วนอะไหล่ที่เหมือนกันเท่านั้น ,สิ่งนี้จะช่วยรับประกันความปลอดภัยของผลิตภัณฑ์
  2. ห้ามดัดแปลงหรือพยายามซ่อมแซมอุปกรณ์นี้ ,ยกเว้นตามที่อธิบายไว้ในคำแนะนำการใช้งานและการดูแล
  3. ห้ามใช้และเก็บในสภาพแวดล้อมที่ร้อนจัดหรือเย็นจัด (ต่ำกว่า 0℃/32F หรือสูงกว่า 40C/104F) ,โปรดชาร์จเครื่องดูดฝุ่นไร้สายที่อุณหภูมิสูงกว่า 0℃/32F และต่ำกว่า 40℃/104F
  4. ห้ามพยายามใช้งานอุปกรณ์หากทำตกหล่น ,เสียหาย ,ทิ้งไว้ข้างนอกเป็นเวลานาน ,ตกน้ำ หรือทำงานไม่ถูกต้อง นำไปยังศูนย์บริการที่ได้รับอนุญาตเพื่อทำการซ่อมแซม
  5. สำหรับปัญหาคุณภาพของผลิตภัณฑ์ที่เกิดจากการใช้แผ่นทำความสะอาดหรือของเหลวทำความสะอาดที่ไม่ได้ซื้อจากร้านค้าอย่างเป็นทางการของ Simplus แบรนด์จะไม่รับประกันหรือรับคืนสินค้า