Ⅰ. ข้อมูลจำเพาะ
|
ชื่อสินค้า |
รหัสสินค้า |
พิกัดแรงดันไฟฟ้า |
พิกัดความถี่ |
กำลังไฟ |
ช่วงอุณหภูมิ |
|
เครื่องหนีบผม |
ZFBA001 |
220V |
50Hz |
50W |
120℃-220℃(6 ระดับ) |
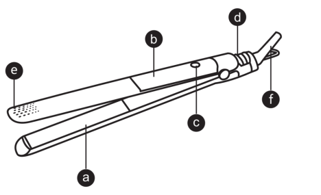
Ⅱ. ชื่อและรูปภาพของส่วนประกอบ

- แผ่นทำความร้อน
- จอแสดงผล LED
- ปุ่มสวิตซ์และปุ่มปรับอุณหภูมิ
- ตัวล็อค
- ด้านหน้ากันลื่น
- สายไฟหมุน 360 องศา
Ⅲ. การใช้งาน
- เตรียมพร้อมก่อนใช้งาน
- เพื่อให้ได้ผลลัพธ์ผมระดับมืออาชีพ ,การเตรียมการก่อนจัดแต่งทรงผมเป็นสิ่งจำเป็น ,โปรดใช้ไดร์เป่าผมเป่าผมให้แห้งก่อน70 ถึง 80 เปอร์เซ็นต์
- ใช้งานผลิตภัณฑ์นี้
- เครื่องหนีบผมเป็นเครื่องมือจัดแต่งทรงผมที่มีความร้อนและควรใช้งานด้วยความระมัดระวัง
- อุณหภูมิสูงสุดของเครื่องหนีบผมนี้สามารถสูงถึง 220°C ,เพื่อป้องกันไม่ให้ผมเสีย ,โปรดเลือก อุณหภูมิที่เหมาะกับเส้นผมของคุณหลังจากใช้ผลิตภัณฑ์แล้ว , สามารถเลือกผลิตภัณฑ์ดูแลเส้นผมในปริมาณที่เหมาะสมเพื่อดูแลเส้นผมของคุณ
- เสียบปลั๊กไฟและเครื่องหนีบผมอยู่ในโหมดสแตนด์บาย ,เครื่องแสดงสถานะปิด และแผ่นความร้อนไม่ทำความร้อนในขณะนี้
- กดปุ่มเปิดปิดค้างไว้ 3-4 วินาที เครื่องหนีบผมจะเปิดขึ้นและองค์ประกอบความร้อน PTC จะเริ่มทำงาน อุณหภูมิเริ่มต้นคือ 220°C และแถบความร้อนอุณหภูมิจะเลื่อนและกะพริบ
เมื่อถึงอุณหภูมิที่ตั้งไว้ ,แถบความร้อนตามอุณหภูมิจะติดอยู่เสมอ - กดปุ่มสวิตช์สั้น ๆ , เพื่อปรับอุณหภูมิ (อุณหภูมิคือ 220°C-120°C-140°C-160°C-180°C-200°C-220°C)
- ในสถานะเปิดเครื่อง ให้กดปุ่มเปิดปิดค้างไว้ 2 วินาทีเพื่อล็อคอุณหภูมิปัจจุบัน และกดปุ่มเปิดปิดค้างไว้อีกครั้งเป็นเวลา 2 วินาทีเพื่อปลดล็อก
- จะปิดโดยอัตโนมัติหากไม่มีการดำเนินการเป็นเวลา 1 ชั่วโมง
- คำแนะนำผลิตภัณฑ์
- เสียบปลั๊กไฟเข้ากับเต้ารับ
- เลือกอุณหภูมิที่เหมาะสม ,วางเครื่องหนีบผมบนพื้นผิวเรียบและแห้ง และรอให้เครื่องอุ่นจนได้อุณหภูมิที่ต้องการ
- หวีผมให้เรียบลื่นไม่พันกัน
- หวีผมเป็นหลายๆ ชั้น ใช้กิ๊บหนีบผม แล้วแบ่งชั้นล่างออกเป็นช่อๆ
- เริ่มต้นที่ด้านหลังศีรษะ ,เลือกส่วนผมที่ต่ำที่สุด ไม่หนาเกินไป และวางไว้ระหว่างแผ่นความร้อนยืดผม
ถือตัวเครื่องให้แน่น สไลด์จากโคนผมไปยังปลายผม ,อย่าหยุดตรงกลาง เพื่อป้องกันไม่ให้ส่วนนั้นร้อนเกินไป หลังจากจัดแต่งผมชั้นล่างแล้ว ให้นำผมชั้นบนไปจัดแต่งทรงผมต่อ - ทำซ้ำในระดับที่ต้องการหากจำเป็น
- หลังการใช้งาน ให้ปิดและถอดปลั๊กผลิตภัณฑ์ ,จากนั้นรอให้ผลิตภัณฑ์เย็นลงก่อนจัดเก็บ
- อุณหภูมิและประเภทขนที่เหมาะสม
- 120-140 ℃ เหมาะสำหรับผมนุ่ม
- 160-180℃ เหมาะสำหรับผมธรรมดา
- 200-220℃ เหมาะสำหรับผมแข็งหยาบ
Ⅳ. การทำความสะอาดและจัดเก็บ
- หลังใช้งานเสร็จ ปิดผลิตภัณฑ์และตัดการเชื่อมต่อจากแหล่งจ่ายไฟตลอดเวลา ,วางไว้ในที่ปลอดภัยและปล่อยให้เย็นลงห้ามล้างผลิตภัณฑ์ด้วยน้ำ ,ห้ามพันสายไฟรอบผลิตภัณฑ์ ,เก็บผลิตภัณฑ์นี้ไว้ในที่ปลอดภัยและแห้งไม่เปียกชื้น
Ⅴ. ข้อควรระวัง
- ก่อนใช้ผลิตภัณฑ์ ,โปรดอ่านคู่มือนี้อย่างละเอียด และเก็บไว้ในที่ปลอดภัยเพื่อใช้อ้างอิงในอนาคต
- ก่อนเชื่อมต่อผลิตภัณฑ์เข้ากับแหล่งจ่ายไฟ ,โปรดตรวจสอบว่าแรงดันไฟฟ้าที่ทำเครื่องหมายบนผลิตภัณฑ์ตรงกับแรงดันไฟฟ้าของแหล่งจ่ายไฟในพื้นที่หรือไม่
- ตรวจสอบสภาพของสายไฟอย่างสม่ำเสมอ ,ห้ามใช้ผลิตภัณฑ์นี้หากปลั๊ก ,สายไฟ ,หรือตัวผลิตภัณฑ์เสียหาย
- หากสายไฟเสียหาย ,จะต้องเปลี่ยนโดยผู้ผลิตหรือตัวแทนบริการหรือผู้ที่มีคุณสมบัติใกล้เคียงเพื่อหลีกเลี่ยงอันตราย
- ห้ามพันสายไฟไว้รอบๆ ผลิตภัณฑ์
- โปรดอย่าให้ผลิตภัณฑ์นี้สัมผัสกับน้ำ! ห้ามใช้ผลิตภัณฑ์นี้บนหรือใกล้อ่างอาบน้ำ หรืออ่างล้างหน้าที่มีน้ำอยู่โปรดถอดปลั๊กผลิตภัณฑ์ให้ทันเวลาหลังจากใช้งานในห้องน้ำ แม้ว่าผลิตภัณฑ์จะอยู่ใกล้น้ำหลังจากปิดสวิตช์ แต่ก็ยังมีอันตรายที่อาจเกิดขึ้นได้
- สำหรับมาตรการป้องกันอื่นๆ ขอแนะนำให้ติดตั้งเครื่องป้องกันไฟรั่ว (RCD) ที่มีกระแสไฟตกค้างที่กำหนดไม่เกิน 30mA ในวงจรแหล่งจ่ายไฟ สำหรับคำแนะนำที่เกี่ยวข้อง ,โปรดปรึกษาโปรแกรมติดตั้งสำหรับรายละเอียด
- เมื่อใช้ผลิตภัณฑ์ แผงทำความร้อนจะยังคงรักษาอุณหภูมิสูงต่อไป ,อย่าสัมผัสผิวหนังหรือสัมผัสผลิตภัณฑ์ที่มีอุณหภูมิสูงกับวัตถุอื่นๆ ในขณะนี้ อย่าปล่อยให้เด็กสัมผัสผลิตภัณฑ์
- อย่าให้สายไฟ AC สัมผัสกับชิ้นส่วนที่มีความร้อนของผลิตภัณฑ์
- ผลิตภัณฑ์นี้สามารถใช้กับผมที่แห้ง 70% ถึง 80%
- ห้ามเสียบปลั๊กหรือเปิดสวิตช์เครื่องใช้ไฟฟ้าทิ้งไว้
- โปรดปล่อยให้ผลิตภัณฑ์เย็นสนิทก่อนทำการจัดเก็บ
- โปรดรักษาความสะอาดของแผงทำความร้อนและตัวเครื่องห้ามใช้ผลิตภัณฑ์หลังจากใช้สเปรย์จัดแต่งทรงผมและสเปรย์ฉีดผมเพื่อไม่ให้ผลิตภัณฑ์เสียหายและส่งผลต่อการใช้งานครั้งต่อไป
- แผ่นเคลือบด้วยสารเคลือบเซรามิกที่สึกหรอไปตามกาลเวลา ,แม้ว่าสารเคลือบจะสึกหรอ ก็จะไม่ส่งผลต่อการทำงานปกติของผลิตภัณฑ์
- หากผลิตภัณฑ์เปิดอยู่ ,ให้วางผลิตภัณฑ์ให้ห่างจากวัตถุและวัสดุไวไฟ
- ห้ามคลุมผลิตภัณฑ์ด้วยสิ่งใด (เช่น ผ้าขนหนูหรือเสื้อผ้า) ในขณะที่ผลิตภัณฑ์ยังร้อนอยู่
- เมื่อใช้ผลิตภัณฑ์กับผมที่ผ่านการทำสี แผ่นความร้อนอาจมีสีติดได้
- ห้ามนำส่วนที่ร้อนของเครื่องไปสัมผัสกับร่างกาย โดยเฉพาะตา หู ใบหน้า และลำคอ
- ผลิตภัณฑ์นี้ไม่สามารถใช้เป็นของเล่นสำหรับเด็กเล็กได้
- ทารกและผู้พิการที่ไม่สามารถใช้งานด้วยตัวเองได้ , จำเป็นต้องได้รับคำแนะนำจากผู้ใหญ่หรือผู้ปกครอง
- ผลิตภัณฑ์นี้สามารถใช้เป็นเครื่องใช้ในครัวเรือนเท่านั้น , ไม่ใช่สำหรับใช้ในอุตสาหกรรม
- ผลิตภัณฑ์นี้ไม่สามารถใช้ในสภาพแวดล้อมพิเศษ เช่น ก๊าซที่มีฤทธิ์กัดกร่อนหรือระเบิดได้
- ผลิตภัณฑ์นี้ไม่สามารถใช้เป็นอุปกรณ์ทางการแพทย์ได้
- คำเตือน: จัดเก็บเครื่องไว้ในที่แห้งไม่มีความชื้น
- หากมีปัญหาในการใช้งานให้ดึงปลั๊กออกทันที
Ⅵ. FAQ
- Q1: ใช้ตอนผมเปียกได้ไหม?
- A1: ห้ามใช้ขณะที่ผมเปียกอยู่ , ผมที่แห้งแล้วสามารถใช้งานได้
- Q2: ถ้าผมที่ผ่านการดัดมา , สามารถใช้เพื่อยืดผมได้หรือไม่?
- A2: สามารถใช้ได้ แต่เครื่องหนีบผมไม่สามารถทำให้ผมหยิกตรงได้ทั้งหมด , หากต้องการผลลัพธ์ที่ดีกว่าและติดทนนาน เราขอแนะนำให้ไปร้านเพื่อยืดผมโดยมืออาชีพ
- Q3: ควรใช้อุณหภูมิที่ตั้งไว้เหล่านี้อย่างไร?
- A3: 120-140°C เหมาะสำหรับผมเส้นเล็กและนุ่ม ;160-180°C เหมาะสำหรับผมธรรมดา ; 200-220°C เหมาะสำหรับผมหนาและแข็ง
- Q4: มีฟังก์ชั่นไอออนลบหรือไม่?
- A4: ขออภัยเป็นอย่างมาก , ไม่มีฟังก์ชั่นไอออนลบ
- Q5: เครื่องหนีบผมจะร้อนเกินไปจนจับไม่ได้ หรือความร้อนลวกหนังศีรษะไหม?
- A5:ผลิตภัณฑ์นี้มีการออกแบบป้องกันความร้อนลวก,ซึ่งจะไม่ลวกมือหรือศีรษะของผู้ใช้งาน
- Q6: ผลิตภัณฑ์นี้ใช้งานแบบ 2 in 1 ใช่หรือไม่?
- A6: ใช่ , 2 in 1 สามารถหนีบตรงและม้วนลอน
- Q7: ผลลัพธ์จะอยู่ได้นานแค่ไหน?
- A7: ขึ้นอยู่กับความแข็งของเส้นผม , สำหรับผมที่นุ่มนวลตามธรรมชาติ ผลลัพธ์ที่ได้จะคงอยู่ได้นานกว่า
- Q8: ผลิตภัณฑ์มีล็อคนิรภัยหรือไม่?
- A8: ใช่ , ผลิตภัณฑ์มีตัวล็อคนิรภัย
- Q9: ถ้าย้อมผมแล้วใช้ได้ไหม?
- A9: ได้ , ผมที่ผ่านการย้อมสีสามารถใช้ได้