Video - Cordless Vacuum Cleaner
Ⅰ. Specification parameters
|
Product name |
Model No. |
Rated voltage |
Rated power |
Adapter input |
Adapter output |
Appliance Classes |
|
Cordless Vacuum Cleaner |
LW-S2001A1 |
22.2VDC |
150W |
100V-120V~ 50/60Hz 0.5A |
26.5V 0.5A |
Class Ⅲ |
Ⅱ. Part name and installation method
Latest Version

- Speed indicator
- Battery power indicator
- Speed control button
- Battery pack release button
- Battery Pack
- Handle
- Power Switch
- Dust Cup
- Air outlet cover
- HEPA
- Dust cup bottom cover release button
- Dust cup release button
- Aluminum tube release button
- Conductive telescopic aluminum tube
- Filter cover
- Cyclone cone
- Filter screen cover
- Floor brush release button
- LED soft fiber electric brush
- Adapter
- Crevice nozzle
- Two–in-one brush
- Wall-hung accessory holder
Old Version

- Gear indicator light
- Power indicator light
- Speed control button
- Battery pack release button
- Battery Pack
- Handle
- Power switch
- Dust Cup
- Outlet cover plate
- HEPA
- Dust cup bottom cover release button
- Dust cup release button
- Aluminum tube release button
- Conductive aluminum tube
- High-efficiency filter cotton
- Cyclone cone
- Air filter cover
- Brush release button
- Electric floor brush
- Long flat suction
- Two-in-one bristle brush
- Wall mount
- Adapter
- Assembly instructions
- Tips: Before assembly, please take out all the accessories in the packaging box, and check whether they are consistent with the product parts diagram.
- Insert the battery pack along the groove above the main engine to ensure that the battery pack is installed in place. Once installed, you will hear a click sound (Figure 1).

- Align the mounting holes on the aluminum tube with the installation position of the host and insert it vertically into the proper position. You will hear a clicking sound when it is installed in place (Figure 2).

- Align the mounting hole at the other end of the aluminum tube with the installation position of the floor brush and insert it vertically into the appropriate position. You will hear a clicking sound when it is installed in place (Figure 3).

- Install storage seat: Please find a suitable position to install the wall mounting seat, and then use screws to fix the wall mounting seat. When you are finished using the product later, you can place it on this seat (Figure 4).

Ⅲ. Operation Instruction
- Warning: Electric roller brushes contain moving parts! To avoid personal injury, do not touch the rolling brush while running the vacuum cleaner. For example, touching the rotating rolling brush may cause cuts, scratches, or other injuries. To maintain the vacuum cleaner, turn off the machine first and pay attention to safety if using it near children (Figure 5).

- Charging the Vacuum Cleaner
Warning: Please turn off the vacuum cleaner before charging.- There are two ways to charge the product:
- With the battery pack on the host, plug the adapter into the charging port, and then plug the adapter into the power outlet to charge (Figure 6).
![]()
- The battery pack is charged separately using an adapter. Insert the adapter plug into the battery pack charging interface (Figure 7); If the battery pack is on the device, take it out first.
Latest Version: The charging indicator light is flashing in red when charging. When the charging indicator light is off, the battery is fully charged.
Old Version: When charging, the charging indicator is steady on. When the charging indicator is off, the battery is fully charged.

Note: When the power switch is pressed, the vacuum cleaner runs and then stops, and the display screen is on and then off, indicating that the power is insufficient, and the battery pack needs to be connected to the adapter for charging.
- Use of Vacuum Cleaner
Warning: Do not use a vacuum cleaner without a filter installed.
- Insert the vacuum cleaner into the vacuuming position of the host according to the cleaning requirements to ensure proper installation (Figure 8).


- Before working, please check whether the rolling brush is stuck to sharp objects, so as to avoid foreign objects scratching the floor during use.
- Press the power switch to start the vacuum cleaner, and the machine automatically runs in the middle gear (Figure 9).

- Latest Version:
Touch the speed control button to adjust the working speed, and the display will show the current working speed. Continuous touch the speed control button and it will cycle between one to three speed. (Figure 10).
Old Version:Touch the "+" button of the speed button to adjust to the high speed, and the speed display lamp is displayed as 3 grids; Touch the "-" button of the speed button to adjust to the low speed, and the speed display lamp is displayed as 1 grid, and the "AUTO" key is the automatic transmission (Figure 10).![]()
- After use, press the power switch and turn off the vacuum cleaner.
- Use of Accessories
- Tips: If necessary, you can connect the connecting rod to the handheld vacuum cleaner, the flat suction, two-in-one brush to the long rod for cleaning operations.
- Long flat suction: Long flat suction is suitable for cleaning crevices, corners, and other areas, such as corners, aluminum alloy doors and window frames, drawers, car seats, keyboards, and other places.
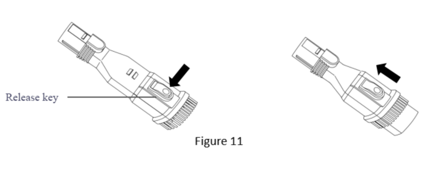
- Use a two-in-one brush: Use a 2-in-1 brush for cleaning soft surfaces (such as curtains, fabric, sofas, beds, and other areas). The two-in-one brush can be used by pressing the release button to retract the brush head downward for wide flat suction (Figure 11).

- Accessories usage summary
|
Accessories name |
Used Range |
||||||
|
furniture |
Seat cushion seam |
sofa |
Floor gaps |
fabric |
stairs |
||
|
carpet |
ground |
||||||
|
Long flat suction |
√ |
√ |
√ |
√ |
|
√ |
√ |
|
Two-in-one brush |
√ |
|
√ |
|
√ |
|
|
Note: Before using on textiles, please clean the accessories and use them after drying to avoid staining the fabric.
Ⅳ. Maintenance and repair
Warning: Before performing any maintenance, ensure that the vacuum cleaner is turned off and the entire machine is not charged, otherwise it may result in electric shock or other personal injury.- Clean the dust cup
- Tips: To achieve the best effect of vacuuming, please empty the dust-collecting cup immediately after each use. Do not use the vacuum cleaner without a filter installed.
- Put the host on the dustbin, then press the dust cup bottom cover release button, and pour the dust out (Figure 12).
![]()
- After cleaning, please close the bottom cover of the dust cup. A clicking sound will be heard when completely closed.
- Clean efficient filter cotton and air filter cover
- Warm tips: Use a clean filter to keep the best effect of the vacuum cleaner. Clean the filter in time after each use to maintain good dust performance, or go to the designated after-sales center to buy a new filter replacement.
- Check the filter frequently. If the filter cover has a lot of hair fibers tangled and accumulated, or there is obvious dust accumulation, please clean it up in time.
- Take out the dust cup: hold the handle with one hand and the suction of the dust cup with the other hand, press the dust cup release button with your fingers, rotate the dust cup in a clockwise direction, and take out the dust cup (Figure 13).
![]()
- Take out the high-efficiency filter cotton and filter cover: Take out the high-efficiency filter cotton and then take out the filter cover, and then rotate the cyclone cone counterclockwise to separate the cyclone cone and filter cover (Figure 14).
![]()
- Clean high-efficiency filter cotton and gently pat or brush with a soft brush to remove dust. Use warm water to clean high-efficiency cotton filters, screen covers, and cyclone cones. (It is recommended that all clean filters be put into air circulation and allowed to dry naturally).
**Tips: Do not use dirty water for cleaning. Do not place high-efficiency filter cotton, filter cover, and cyclone cone in wet places. Do not expose the filter cotton to sunlight or use a hair dryer to speed up drying. Otherwise, the filter cotton may be damaged and its service life may be shortened.
**Warning: After cleaning the high-efficiency filter cotton, filter cover, and cyclone cone, be sure to dry before use. If using the non-dry filter wet, it may cause product damage or other personal injury and property damage. - Rotate the clean and fully dried cyclone cone counterclockwise into the filter hood, and then load the filter hood and high-efficiency filter cotton into the dust cup. Finally, install the dust cup to the main machine by turning it counterclockwise. When it is in place, you will hear a click.
- Clean the HEPA filter
- Rotate the outlet cover counterclockwise to remove the HEPA filter from the whole machine (Figure 15).
![]()
- Rotate the HEPA filter counterclockwise and remove it from the fixing plate of the air outlet cover plate (Figure 16).

- Use a discarded toothbrush or other small brush to remove the dust from the cracks of the HEPA filter, or gently knock the HEPA filter to clean the dust-out. If necessary, clean the HEPA filter with clean water (Figure 17), and then dry it naturally before putting it into the machine for use.

- Clean electric floor brushes
- Tips: After use for a period of time, the rolling brush may catch the thread, hair, fiber, and other debris, which will directly affect the cleaning effect, and need to be cleaned in time.
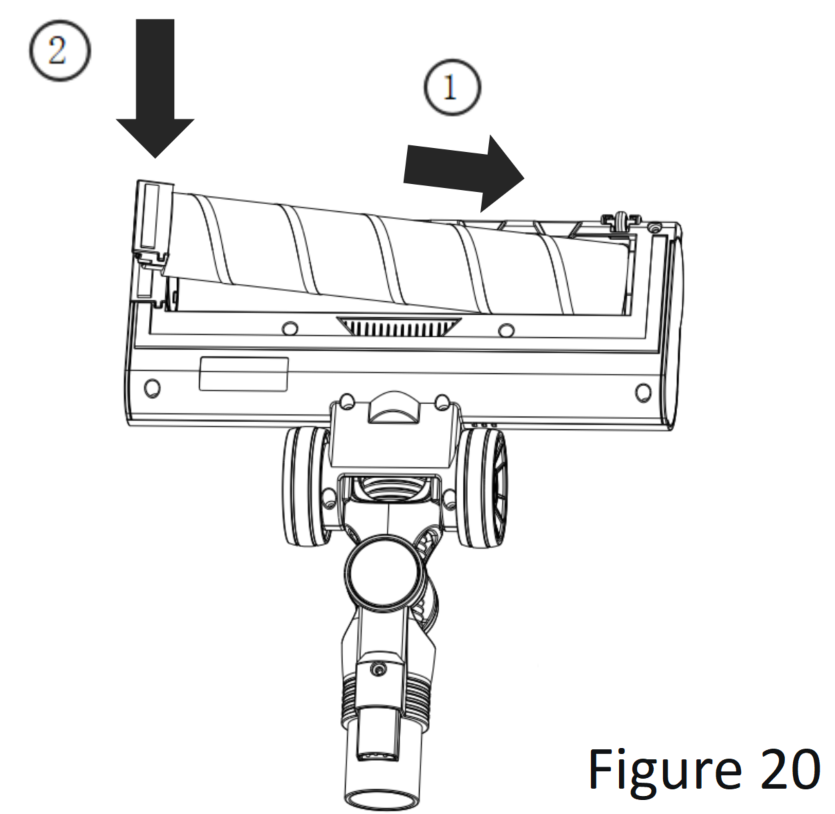
- Ensure that the vacuum cleaner is turned off. Press the bottom floor brush release button to remove the floor brush, then flip the floor brush over to expose the roller brush.
- Press the release button on the side of the ground brush in the unlocking direction, and the brush automatically springs up. (Figure 18).

- Remove the roller brush, then clean up any tangled material from the brush, using scissors to cut off hair, threads, and other debris if necessary (Figure 19).
![]()
- After cleaning, insert the rolling brush and push it to the bottom. Then press down the side cover of the rolling brush. (Figure 20)

- Clean up the blockage of the floor brush hose
- Press the long tube release button to separate the connecting rod from the ground brush (Figure 21).
![]()
- Take out the roller brush and clean the adhesive waste in the hose from the suction at the bottom of the brush (Figure 22).

Note: Do not clean the hose with sharp tools to avoid damage to the hose.
- Battery Replacement
- This product uses a lithium battery. When the battery is damaged or its service life reaches its expiry date, please take off the battery pack and replace it at the maintenance place designated by the company. The method of removing the battery pack is to hold the host with one hand and press the battery release button with the other hand, and then remove it from the host (Figure 23).

Warning: Do not replace the battery by yourself to avoid personal injury
Ⅴ. Safety Instructions
- About the Instructions
- Before using this product, please read and understand all contents in this instruction manual and the logo on the product. Please follow the steps in this manual to install the product. Please be vigilant when using the product and follow the instructions to ensure your safety. Please keep this manual safe. If you transfer the product to a third party, please attach a manual with the product. Any operation inconsistent with the instructions may result in serious injury or damage to the product. Losses caused by failure to follow the instructions in the manual are not covered by our warranty. This product is suitable for operation and use in the home environment.
- Identification used in this manual
- For your personal safety, please pay special attention to the very important instructions. Please read this manual carefully to avoid accidents and product damage.
Warning: To remind you of risks that may cause harm to your health and safety
Attention: To remind you of the things you must pay attention to about this product or when using this product.
- Safety in use
Warning: In order to use safety, special attention should be paid to the following:
- This product should not be used by children or persons who are physically weak or suffer from mental disorders or lack relevant experience and knowledge. In order to ensure their safety, please use the product under the supervision and guidance of the guardian
- This product should be kept safely out of the reach of children and those who cannot judge the danger in the vicinity.
- When the product is working near or operated by children, special attention should be paid. When charging the product, pay attention to the charging cable and do not trip children;
- The packaging and plastic bags of the product should be kept away from children, which may cause suffocation risk;
- Do not use this product as a toy for children to avoid danger.
- To avoid product damage and personal injury, do not touch any part of the rolling brush during use.
- Product application scope
Warning: In order to reduce the risk of fire, electric shock, and personal injury, absolutely prohibited, and special care should be taken in the following circumstances.
- This product is only suitable for home use, do not use it for commercial purposes, do not use this vacuum cleaner outdoors, avoid near the heat source, direct sunlight, and high humidity environments (such as rainy days). When using this product, please do not immerse the product in liquid, keep away from sharp objects to avoid damage to the product, and do not use it for purposes not specified in the instructions;
- Be aware that hair, fingers, and other parts of the body may be touched by internal parts causing electric shock or personal injury;
- Please note that corners, and clothing accessories (ties, scarves, rope, etc.) may be pulled into the product, causing danger;
- Do not inhale burning or smoking objects such as extinguished soot, burning cigarette butts or matches, hot ash, etc.
- Do not inhale any toxic objects, in order to avoid dust, gas, and other harm to the human body;
- Do not absorb water or other liquids, especially carpet cleaning liquid, internal moisture or water may cause electrical short circuits;
- Do not suck the toner and toner used inside the laser printer and copier, otherwise, it may cause fire or explosion;
- Do not inhale a large amount of gypsum, cement and large pieces of paper, etc., these objects may block the filter, must be cleaned in time;
- Do not use this product near or on the surface of inflammable and explosive materials, or it may cause fire and explosion.
- Do not use or store this product near ovens, fireplaces, and other heat sources, otherwise, it will cause deformation and damage to the vacuum cleaner shell. Do not expose it to rain and store it indoors in a cool, dry place. Do not store or use this product near dangerous objects;
- When cleaning the stairs, please pay special attention to safety and use caution to prevent falling;
- Do not wet the fuselage; otherwise, the vacuum cleaner may short circuit, and fire or electric shock may occur.
- This product can not absorb the carbon powder, the lead powder on the battery, and can not be used in dangerous places or industrial production places, so as to avoid the special dust on the floor, ordinary ground, or carpet causing damage to the product, even explosion;
- Please do not run the product without anyone present. Please shut down the machine when not using the product or carrying out repair and maintenance.
- Always check whether the product and the charger wire are damaged. Do not use damaged products;
- Please use the original parts and instructions specified in the attachment. For example, the use of non-specified or non-original parts may cause danger or damage to the vacuum cleaner, and the warranty will be void.
- Neither the manufacturer nor the seller shall be liable for all consequences arising from improper use and operation by consumers.
- This product is equipped with an electric brush. Please keep hair, clothes, fingers, and other parts of the body away from the brush mouth and sports parts.
- This product can only absorb garbage, do not use suction liquid;
- Do not remove the battery or put the battery into the fire to avoid the risk of battery explosion
- In extreme use, the battery may leak. If the skin is accidentally stained by the leaking battery liquid, please rinse with water immediately. If the liquid enters the eyes, please go to the hospital immediately for examination and treatment.
- This product is equipped with a special lithium battery and adapter. Please do not replace the battery or use other adapters to charge, in order to avoid damage to the product or other dangers. This adapter is only suitable for charging the machine. Do not use it for charging other battery packs, so as not to cause danger.
Attention!
- Do not inhale sharp objects, such as glass shards, pins, paper clips, etc., which may damage the filter;
- This product before soot. Please ensure that all filters are installed in place; otherwise, product damage and warranty may result;
- Troubleshooting Methods
Warning!
- If the product fails, please check and eliminate it according to the instructions. If the fault still cannot be removed, please contact the after-sales service department of the company or the professional maintenance organization designated by the company for maintenance and treatment by professional maintenance personnel. Do not repair by yourself. Otherwise, personal injury may occur.
- Waste Disposal
Warning: Do not remove or replace the battery by yourself to avoid personal injury.
- This product is equipped with lithium batteries, and random disposal will cause harmful effects on the environment. Please do not use discarded appliances and batteries as household garbage. The battery must be removed from the appliance before discarding it; The appliance must be powered off when the battery is removed; Batteries should be disposed of safely; Since the battery is not removable, it needs professionals to remove the battery. Before disposing of the discarded device, contact the local professional battery recycling agency to recycle the device together with the whole device.








Note: Do not clean the hose with sharp tools to avoid damage to the hose.