Cart
/

Sắt hơi nước GTJH006 Hướng dẫn sử dụng Phiên bản tiếng việt

Video - Sắt hơi nước

Ⅰ. Thông số

Mã sản phẩm

điện áp định mức

công suất định mức

tần số định mức

GTJH006

220-240V

1300W

50-60Hz

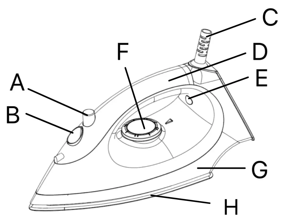
Ⅱ. Bộ phận và sơ đồ lắp đặt

  1. Nút bấm 
  2. chỗ lấy nước 
  3. bọc dây diện 
  4. Tay cầm 
  5. Đèn báo
  6. Núm điều chỉnh nhiệt độ 
  7. Tấm chắn nhiệt
  8. Tấm đế

Ⅲ. Hướng dẫn vận hành

  1. Phân loại quần áo theo nhãn trước khi sử dụng, nóng nhanh hơn nguội, vì vậy hãy ủi quần áo cần nhiệt thấp (vải tổng hợp và lụa) trước khi ủi các quần áo cần nhiệt cao (len, cotton, đay, v.v.).
  2. Đặt bàn ủi theo chiều dọc và đặt núm nhiệt độ ở mức tối thiểu.
  3. Cắm phích cắm vào ổ cắm, xoay núm điều chỉnh nhiệt độ đến điểm nhiệt độ mong muốn của chất liệu quần áo và căn chỉnh với dấu nhận dạng chất liệu trên đèn báo nhiệt.
  4. Khi đèn tắt, bạn có thể bắt đầu ủi.
  • Lưu ý
  • Nếu đặt bàn là hơi nước lên khi có nước trong bình chứa nước, việc tràn nước là hiện tượng bình thường và không phải là vấn đề sản phẩm. Cách sử dụng bàn ủi đúng là:
  1. Nhấn nút bơm hơi nước xuống để "khóa" trước khi thêm nước;
  2. Trước khi cắm nguồn, hãy kiểm tra xem nút bơm hơi nước có giữ trạng thái "khóa" và xoay nút để chọn mức độ tăng nhiệt độ cần thiết, giữ sản phẩm đứng thẳng. Đèn báo nguồn sẽ sáng để báo đang tăng nhiệt độ, hãy tránh chạm vào tấm thép để không bị bỏng;
  3. Sau khi tăng nhiệt xong, đèn báo nguồn sẽ tắt tự động, lúc đó hãy bấm nút bơm hơi nước để "mở khóa";
  4. Khi ủi quần áo, hãy đặt sản phẩm tại góc vuông, giữ gọn gàng và giữ góc độ thẳng, nếu không sẽ dễ dàng rò rỉ nước.
  • Đổ nước
  1. Trước khi đổ đầy (hoặc đổ hết nước) bàn ủi, hãy rút phích cắm của bàn ủi ra khỏi ổ cắm trên tường. Đặt điều khiển hơi nước về vị trí 0 (nếu có chức năng hơi nước) để tránh rò rỉ nước.
  2. Đổ đầy nước vào ly. Để sử dụng lần đầu tiên, hãy đặt bàn ủi lên và đổ đầy nước máy thông thường vào bàn ủi.
  3. Bạn cũng có thể bù nước bằng nước máy. Tuy nhiên, nếu nước quá cứng, nên sử dụng nước cất.
  4. Không cho giấm, tinh bột, nước tẩy cặn hóa học hoặc chất tẩy cặn vào bình chứa!
  • Ủi hơi nước
  1. Sau khi đổ đầy nước, nối bàn ủi với ổ cắm điện phù hợp.
  2. Điều chỉnh núm nhiệt độ theo phạm vi nhiệt độ len, bông và đay.
  3. Đặt bàn ủi thẳng đứng, bật nút hơi nước sau khi đèn tắt.
  • Cài đặt giữa núm điều chỉnh nhiệt độ và nút hơi nước được thể hiện trong bảng bên dưới:

Chỉnh nhiệt độ

Sợi/Tơ tổng hợp

(Nhiệt độ thấp)

Len lụa

(Nhiệt độ trung bình)

Vải lanh/Cotton

(Nhiệt độ cao)

  • Bàn ủi nặng trong thân chính làm cho bàn ủi nặng hơn, giúp cải thiện kết quả ủi.
  • Thiết bị cắt bảo vệ an toàn
  1. Trong trường hợp không chắc chắn xảy ra do hỏng bộ điều nhiệt, cơ chế ngắt bảo vệ sẽ hoạt động để ngăn bàn ủi quá nóng.
  2. Sau đó, nên mang bàn ủi đến cơ sở dịch vụ được ủy quyền gần nhất.
  • Cất giữ
  1. Xoay núm điều chỉnh nhiệt độ về mức tối thiểu và rút phích cắm của bàn ủi sau khi bàn ủi đã nguội hoàn toàn. Khi lưu trữ, lưu trữ theo chiều dọc, không theo chiều ngang, với mặt dưới úp xuống.
  2. Tránh ủi khóa kéo/đinh tán, v.v. của quần jean, những thứ này sẽ làm xước tấm đáy.

Ⅳ. Vệ sinh và chăm sóc

  • Theo tần suất sử dụng, bạn nên vệ sinh bàn ủi hơi nước hàng tháng, điều này sẽ giúp tăng tuổi thọ của bàn ủi hơi nước.
  1. Đổ nước đầy nửa bình.
  2. Bàn ủi hơi nước dựng đứng.
  3. Vặn bộ điều chỉnh nhiệt đến vị trí "tối đa" và kết nối bàn ủi hơi nước với nguồn điện.
  4. Tiếp tục đổ nước cho đến khi bàn ủi hơi nước nóng hoàn toàn (đèn báo tắt).
  5. Rút phích cắm của bàn ủi hơi nước.
  6. Đặt bàn ủi hơi nước nằm ngang trên chậu rửa mặt.
  7. Điều chỉnh cổng phun nước ở mức tối đa. Kéo vị trí của cổng phun nước lên và cổng phun nước có thể trở nên lớn hơn.
  8. Bây giờ nước nóng và hơi nước đang thoát ra từ nó. Các chất cặn bã như cặn trắng (nếu có) sẽ trôi ra ngoài cùng với nước.
  9. Tiếp tục ủi cho đến khi ngăn chứa nước được sử dụng hết.

Ⅴ. Biện pháp an toàn khi sử dụng

  1. Khi sử dụng bàn ủi, vui lòng sử dụng theo yêu cầu.
  2. Để tránh bị điện giật, không nhúng bàn ủi vào nước hoặc các chất lỏng khác.
  3. Bàn ủi phải luôn được vặn ở mức "tối thiểu" trước khi cắm hoặc rút ổ cắm điện. Không bao giờ kéo dây để ngắt kết nối, thay vào đó, hãy cầm phích cắm và kéo để ngắt kết nối.
  4. Không để dây điện chạm vào bề mặt nóng. Để bàn ủi nguội hoàn toàn trước khi cất đi.
  5. Đảm bảo rút bàn ủi ra khỏi ổ cắm điện khi đổ nước hoặc đổ nước hoặc khi không sử dụng
  6. Không làm rơi hoặc làm hỏng bàn ủi đang hoạt động bằng dây điện hoặc bàn ủi bị hỏng. Để tránh nguy cơ bị điện giật, không tháo rời bàn ủi mà hãy mang đến cơ sở dịch vụ đủ điều kiện để kiểm tra và sửa chữa. Việc lắp ráp lại không đúng cách có thể dẫn đến nguy cơ điện giật khi sử dụng bàn ủi.
  7. Bất kỳ thiết bị nào được trẻ em sử dụng hoặc ở gần đều cần có sự giám sát chặt chẽ. Không bao giờ bỏ mặc bàn ủi khi nó được kết nối với nguồn điện hoặc đặt trên bàn ủi.
  8. Các bộ phận kim loại nóng, nước nóng hoặc hơi nước có thể gây bỏng, hãy cẩn thận khi bạn lật ngược bàn ủi hơi nước - có thể có nước nóng trong ngăn chứa.
  9. Nếu bàn ủi không hoạt động bình thường, hãy ngắt kết nối bàn ủi khỏi nguồn điện. và liên hệ với Đại lý Dịch vụ được Ủy quyền gần nhất.
  10. Bàn ủi của bạn nằm ở phía dưới. Khi bật bàn ủi,Đừng để nó không được giám sát. Không để bàn ủi trên bề mặt không được bảo vệ, ngay cả khi bàn ủi đang đặt trên gót.
  11. Thiết bị này không dành cho những người (bao gồm cả trẻ em) bị suy giảm khả năng thể chất, giác quan hoặc trí tuệ hoặc thiếu kinh nghiệm và kiến ​​thức sử dụng, trừ khi họ được người có trách nhiệm giám sát hoặc hướng dẫn sử dụng thiết bị.
  12. Cần giám sát trẻ em để đảm bảo rằng chúng không nghịch các thiết bị điện.
  13. Để thiết bị ngoài tầm với của trẻ em hoặc người ốm yếu. Đừng để họ sử dụng các thiết bị điện mà không có sự giám sát.
  14. Nếu dây nguồn bị hỏng, nó phải được thay thế bởi nhà sản xuất, đại lý dịch vụ của họ hoặc những người có trình độ tương đương để tránh nguy hiểm.
  15. Không bao giờ bỏ mặc bàn ủi khi đang kết nối với nguồn điện.
  16. Trước khi đổ đầy nước vào ngăn chứa nước (bàn là hơi nước và bàn là có tia nước), phải rút phích cắm ra khỏi ổ cắm.
  17. Không thể mở lỗ nạp trong quá trình sử dụng. Hướng dẫn châm nước vào ngăn chứa nước an toàn (đối với bàn là hơi nước tăng áp).
  18. Chỉ nên sử dụng bàn ủi khi có giá đỡ (đối với bàn là không dây)
  19. Bàn ủi này không phù hợp để sử dụng thường xuyên (bàn ủi du lịch)
  20. Đồ sắt phải được sử dụng và đặt trên bề mặt ổn định.
  21. Khi đặt bàn ủi lên giá đỡ, đảm bảo rằng bề mặt của giá đỡ ổn định.
  22. Không sử dụng bàn ủi nếu nó bị rơi, có dấu hiệu hư hỏng hoặc rò rỉ rõ ràng.
  23. Trẻ em không được phép chơi với các thiết bị điện khi không có sự giám sát.
  24. Do quá trình kiểm tra sản phẩm của nhà sản xuất, việc thấy một ít nước bên trong bể chứa là điều bình thường.

Ⅵ. FAQ

  • Q1: Làm thế nào để thêm nước?
  • A1: Trước khi thêm nước vào lỗ, bạn cần nhấn nút để mở khóa bình chứa nước. Và sau đó bạn có thể thêm nước vào lỗ

  • Q2: Tại sao nó lại bị rò rỉ nước sau khi tôi thêm nước vào?
  • A2: Trước khi thêm nước vào lỗ, bạn cần nhấn nút để mở khóa bình chứa nước. Sau khi thêm nước, bạn vẫn cần nhấn nút để khóa ngăn chứa bình nước.

  • Q3: Có thể thêm nước hoa vào không?
  • A3: Xin lỗi, không thể

  • Q4: Những loại nước nào bạn khuyên dùng khi cho thêm vào?
  • A4: Chỉ cần nước máy là đủ.

  • Q5: Trong bao lâu thì sẽ phun hơi nước ra bên ngoài?
  • A5: Thông thường sau khoảng 20-30s sẽ phun hơi.