Ⅰ. Specification
|
Product name |
Product Model |
Voltage |
Frequency |
Power |
Temperature |
|
Temperature Controlled Hair Straightener |
ZFBA001 |
220V |
50Hz |
50W |
120°C- 220°C (6 settings) |
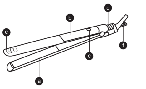
Ⅱ. Components and installation drawings

- Heating plate
- LED display
- ON / OFF switch & temperature adjustment button
- Safety lock
- Cool tip
- 360° Swivel cord
Ⅲ. Operation instructions
- Preparation for use
- To achieve professional hair results, pre-styling preparation is a must. Please use a hair dryer to dry your hair first, and use a hairbrush to dry your hair until it is 70 to 80 percent dry.
- Hair straighteners are hot styling tools and should be used with care.
- The maximum temperature of this hair straightener can reach 220°C. In order to prevent your hair from being damaged, please choose a temperature that is more suitable for your hair quality. After using the product, you can choose an appropriate amount of hair care products to care for your hair.
- Plug in the power and the hair straightener is in standby mode, it shows OFF, and the heating plate does not heat at this time.
- Press and hold the power button for 3-4 seconds, the hair straightener will turn on, and the PTC heating element will start to work. The default temperature is 220°C, and the temperature heating bar scrolls and flashes. When the set temperature is reached, the temperature heating bar is always on.
- Short press the switch button to adjust the temperature (the temperature is 220°C-120°C-140°C-160°C-180°C-200°C-220°C).
- In the power-on state, press and hold the power button for 2 seconds to lock the current temperature, and press and hold the power button again for 2 seconds to unlock.
- It will automatically shut down if there is no operation for one hour.
- Product Instructions
- Insert the power plug into the outlet.
- Choose a suitable temperature, place the hair straightener on a dry, flat surface, and wait for it to preheat to the desired temperature.
- Combs hair for a smooth, tangle-free finish.
- Comb the hair into several layers, hold it with bobby pins, and divide the bottom layer into strands.
- Starting from the back of the head, choose the bottom strand of hair, the hair volume should not be too thick, put it between the hair straightening heating plate, hold the splint tightly, slide from the root to the tip of the hair, do not stop in the middle, to prevent the part from overheating, and finally After the lower layer of hair is styled, take the upper layer of hair and continue styling.
- Repeat to the desired extent if necessary.
- After use, turn off and unplug the product, and wait for the product to cool before storing it.
- Instructions
- Before inserting the power plug into the power outlet, please make sure that the voltage is consistent with this appliance.
- This appliance will get very hot (220°C Max) when styling and should be used with care, set a proper temperature to prevent your hair from being damaged.
- Use a hairdryer to dry the hair after washing, then use a comb to make it smooth and untangled before styling to get a better result
- Insert the power plug into the power outlet, the LED display shows "OFF".
- Press and hold the ON/OFF button to turn on the appliance, the LED display shows the default temperature of 220°C.
- Brief press the ON/OFF button to cycle the temperature (20°C each time) from 120°C to 220°C, when heating, the LED display flashes and stops flashing when the set temperature is reached.
- Divide the hair into several layers, and hold the upper layer with a hair clip, starting with the bottom layer and dividing the bottom layer of hair into several strands.
- Grab a strand of hair and clamp the hair root between two heated plates and apply a little pressure.
- Slide the plates from the hair root to the tip slowly, do not stop during the process in case of overheat.
- Repeat steps 8-9 until all hair is shaped.
- Suitable temperature and hair type
- 120-140℃ is suitable for soft hair
- 160-180℃ is suitable for normal hair
- 200-220℃ is suitable for hard hair
Ⅳ. Cleaning and storage
- Always keep the product turned off and disconnected from the power supply, please put it in a safe place and let it cool down, do not wash the product with water, do not wrap the power cord around the product, and store this product in a safe and dry place.
Ⅴ. Precautions
- Before using the product, please read this manual carefully. And keep it in a safe place for future reference.
- Before connecting the product to the power supply, please check whether the voltage marked on the product matches the local power supply voltage.
- Check the condition of the power cord regularly. Do not use this product if the plug, cord, or product itself is damaged.
- If the supply cord is damaged, it must be replaced by the manufacturer or its service agent or similarly qualified persons in order to avoid a hazard.
- Never wrap the power cord around the product.
- Please do not let this product come into contact with water! Do not use this product on or near a bath, tub, or washbasin filled with water. Please unplug the product in time after using it in the bathroom, even if the product is close to water after the switch is turned off, there are still potential safety hazards.
- As for other protection measures, it is recommended to install a leakage protector (RCD) with a rated residual operating current not exceeding 30mA in the power supply circuit. For related suggestions, please consult the installer for details.
- When using the product, the heating panel will continue to maintain a high temperature. Do not touch the skin or touch the high-temperature product to other objects at this time. Do not let children touch the product.
- Do not allow the AC power cord to touch hot parts of the product.
- The product can be used on 70% to 80% dry hair.
- Never leave an electrical appliance plugged in or switched on.
- Please allow the product to cool completely before storing it.
- Please keep the heating panel and body clean. Do not use the product after using styling spray and hairspray, so as not to damage the product and affect the next use.
- The boards are coated with a ceramic coating that wears away over time. Even if the coating is worn, it will not affect the normal function of the product.
- If the product is turned on, keep the product away from flammable objects and materials.
- Never cover the product with anything (such as a towel or clothing) while it is hot.
- When the product is used on color-treated hair, the plate may become colored.
- Do not touch the hot parts of the appliance to the body, especially the eyes, ears, face, and neck.
- This product cannot be used as a toy for young children.
- Infants and disabled people who cannot use it by themselves need to be guided by healthy adults.
- This product can only be used as a household appliance, not for industrial use.
- This product cannot be used in special environments such as corrosive or explosive gases.
- This product cannot be used as a medical appliance.
- ️WARNING: Keep appliance dry.
- If there is any problem in use, please pull out the plug immediately.
Ⅵ. FAQ
- Q1: Can I use it when the hair is wet?
- A1: It is not allowed, can use it when the hair is almost dry.
- Q2: If I have my hair permed, can I use it to straighten the hair?
- A2: It could be used, but cannot straighten the curled hair totally, to make the effect better and lasting, we advise to go to the barber to do the professional straightening.
- Q3: How do the set temperatures apply?
- A3: 120-140℃ is suitable for soft hair; 160-180℃ is suitable for normal hair; 200-220℃ is suitable for hard hair.
- Q4: Does it have negative ions or not?
- A4: Sorry,it does not have negative ions.
- Q5: Will it be too hot to grasp or will it burn the head part?
- A5: It comes with anti-scalding design, will not hurt your hand or head.
- Q6: Is it 2 in 1 use?
- A6: Yes, it is 2 in 1, straighten or curl.
- Q7: How long can the effect lasts?
- A7: It depends on the hardness of the hair, for natural soft hair, it could last longer.
- Q8: Does it come with safety lock?
- A8: Yes, it comes with safety lock at the end.
- Q9: If I have my hair dyed, can I use it?
- A9: Yes, can use.