Panduan Pengguna Mesin Pembersih Karpet Portabel SIMPLUS BYJH005
Ⅰ. Spesifikasi Produk
| Nama Produk | Nomor Model | Daya Listrik | Tegangan Listrik | Frekuensi |
| Mesin Pembersih Karpet Portabel | BY01R | 1650W | 220-240V | 50-60Hz |
Ⅱ. Ilustrasi Produk

- Gagang
- Panel Kontrol
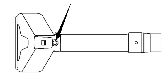
- Tombol Daya
- Tangki Air Bersih
- Tangki Air Kotor
- Pengait Kabel Daya
- Tombol Semprot
- Kepala Sikat
Ⅲ.Petunjuk Pengoperasian
- Cara Memasang
Memasang Kepala Sikat
- Sejajarkan gagang dengan bagian belakang kepala sikat, lalu pasang sesuai arah panah pada gambar.

Memasang Tangki Air
- Angkat tangki air bersih dan putar untuk membuka tutupnya. Isi dengan air bersih, lalu pasang kembali ke unit utama dan tekan ke bawah.
- Bunyi “klik” menandakan pemasangan telah benar.

- Masukkan tangki air kotor ke unit utama dan tekan perlahan hingga terpasang.
- Sebelum digunakan, periksa dan pastikan semua tangki telah terpasang dengan benar, pastikan air di dalam tangki bersih cukup, dan kepala sikat terpasang dengan rapat.
- Cara Menggunakan
- Lepaskan kabel dari pengait kabel dan sambungkan daya.
- Tekan tombol daya. Semua lampu indikator akan menyala selama 1 detik, lalu mati.
- Lampu indikator mode air dingin akan berkedip.
Mode Penggunaan
1:COLD WATER (Mode pembersihan suhu normal)
2:HOT WATER (Mode pembersihan dengan air panas)
3:STEAM & VACUUM (Mode pembersihan uap)
4:STEAM (Mode sterilisasi uap)

- COLD WATER: Tidak memerlukan waktu tunggu. Tekan tombol “COLD WATER”, indikator terus menyala.
- HOT WATER: Tidak memerlukan waktu tunggu. Tekan tombol “HOT WATER”. Saat menekan Tombol semprot, air dingin dapat keluar selama ±10 detik.
- STEAM & VACUUM : Saat pertama kali menggunakan mode Steam & Vacuum, perlu waktu pemanasan sekitar 30 detik. Setelah menekan tombol “STEAM & VACUUM” pada panel kontrol, lampu indikator akan berkedip selama proses pemanasan dan terus menyala setelah pemanasan selesai. Dalam mode ini, saat menekan tombol semprot, pada 5 detik pertama uap dapat keluar bersama sedikit air panas. Hal ini adalah normal.
- STEAM: Saat pertama kali menggunakan mode Steam, perlu waktu pemanasan sekitar 30 detik. Setelah menekan tombol “STEAM” pada panel kontrol, lampu indikator akan berkedip selama proses pemanasan dan terus menyala setelah pemanasan selesai. Dalam mode ini, alat tidak menghasilkan daya hisap. Penggunaan diutamakan untuk sterilisasi kain. Saat menekan tombol semprot, pada 5 detik pertama uap dapat keluar bersama sedikit air panas. Hal ini adalah normal. Disarankan untuk menunggu hingga uap stabil sebelum memulai proses sterilisasi.
- Catatan:
- Saat beralih dari mode uap ke mode air dingin, air panas dapat keluar selama ±20 detik. Jangan menyentuh air.
- Penyemprotan & Penyedotan: Tekan dan tahan tombol semprot pada pegangan untuk menyemprot. Lepaskan untuk berhenti. Arahkan ke noda agar mudah dibersihkan.
- Untuk menyedot: Lepaskan tombol. Tempelkan kepala sikat ke permukaan kain. Gerakkan maju-mundur untuk membersihkan dan menyedot air
- Catatan: Pastikan saluran udara tidak tersumbat untuk menghindari kerusakan mesin.
Ⅳ.Pembersihan & Perawatan
- Untuk mencegah jamur atau bau, bersihkan dan keringkan tangki air kotor, tangki air bersih, dan aksesori setelah digunakan.
- Cabut daya sebelum membersihkan
- Usap bagian luar dengan kain lembap
- Jangan merendam unit utama
- Jangan gunakan bahan abrasif atau korosif
- Gunakan air di bawah 60°C
- Pastikan semua bagian kering sebelum disimpan
- Simpan di tempat kering dan sejuk
- Jauhkan dari debu, suhu tinggi, dan sinar matahari langsung.
- Membersihkan Tangki Air Kotor: Lepas tangki air kotor, buka tutupnya, lalu buang air kotor.

- Membersihkan Kepala Sikat: Lepas kepala sikat, buka penutup transparan, lalu bilas dengan air. Keringkan sebelum dipasang kembali.

- Mode Pembersihan Otomatis/Self-Cleaning:Pasang kepala sikat pembersih otomatis. Tekan “COLD WATER”. Tahan Tombol semprot. Mesin akan membersihkan saluran internal. Air kotor akan masuk ke tangki air kotor. Disarankan durasi ±1 menit.
Ⅴ. Perhatian
- Bacalah panduan ini dengan saksama sebelum digunakan dan simpanlah untuk referensi di masa mendatang.
- Tidak sesuai untuk orang dengan keterbatasanfisik, sensor, dan mental, atau kurang pengalaman dan pengetahuan produk, kecuali di bawah pengawasan oleh orang yang bertanggungjawab atas keselamatannya.
- Jangan biarkan anak-anak bermain dengan alat ini.
- Pastikan tegangan yang tertera sesuai dengan tegangan listrik di tempat Anda. Gunakan hanya kabel daya/pengisi daya asli atau yang direkomendasikan oleh produsen.
- Jangan tambahkan sabun yang menghasilkan banyak busa ke dalam tangki air bersih, seperti deterjen bubuk, deterjen cair, cairan pencuci piring, sabun tangan, sabun mandi, cairan pencuci mobil, pembersih toilet, pembersih karpet, atau pembersih penghilang lemak.
- Jangan digunakan untuk menyedot cairan berbusa.
- Jangan menggunakan air di atas 70°C.
- Jangan memiringkan mesin saat tangki berisi air.
- Jangan digunakan jika kabel atau mesin rusak.
- Jangan membongkar atau memodifikasi alat.
- Jangan digunakan dengan tangan basah.
- Hentikan penggunaan jika terdapat asap, bau, atau panas berlebih.
- Hanya untuk penggunaan rumah tangga.
- Jangan tinggalkan mesin tanpa pengawasan.
- Hindari kontak langsung dengan bagian panas.
- Jangan gunakan di area bersuhu tinggi.
- Jangan menginjak kabel daya.
- Jangan digunakan jika tersumbat.
- Jangan digunakan jika filter kotor.
- Jangan digunakan jika rusak atau jatuh.
- Jangan menjepit kabel di pintu atau menarik di sudut tajam
- Jangan digunakan untuk menyedot cairan berbusa.
- Jangan mengisi tangki air bersih dengan air panas dengan suhu melebihi 70°C.
- Jangan memiringkan alat ke kiri atau ke kanan saat tangki air kotor masih berisi air.
Ⅵ. Masalah dan Solusi
| Masalah Umum | Kemungkinan Penyebab | Solusi |
| Mesin tidak berfungsi | Steker belum terpasang atau tidak terpasang dengan benar | Pasang kembali steker ke stopkontak |
| Stopkontak tidak dialiri listrik | Nyalakan sakelar stopkontak atau ganti stopkontak | |
| Tombol pembersih belum dinyalakan | Nyalakan tombol | |
| Sikat rusak atau aus, tombol rusak, dan sebagainya | Silakan segera hubungi layanan pelanggan | |
| Daya hisap melemah | Sumbatan akibat benda asing pada aksesori seperti selang atau tangki air kotor | Segera bersihkan penyumbatan dan bersihkan |
| Tangki air kotor sudah penuh | Bersihkan tangki air kotor | |
| Filter tersumbat | Bersihkan filter | |
| Motor terlalu panas | Waktu penggunaan terlalu lama | Biarkan mati sesaat, baru gunakan |
| Terlalu banyak kotoran menempel pada filter dan tangki air kotor | Buka tangki air kotor dan bersihkan | |
| Daya hisap menurun | Filter basah | Keringkan tangki air kotor dahulu sebelum digunakan |
| Tangki air kotor penuh kotoran | Bersihkan filter, tangki air kotor, dan selang | |
| Selang dan saluran hisap atau pembuangan tersumbat | Bersihkan filter, tangki air kotor, dan selang | |
| Selang rusak dan bocor | Ganti selang | |
| Pemasangan tidak rapat, terjadi kebocoran udara | Kencangkan kembali bagian penyegel | |
| Unit mesin terlalu panas atau saluran pembuangan uap terlalu panas | Digunakan lebih dari 30 menit | Biarkan alat mati selama 5 menit |
| Benda asing menyumbat lubang hisap | Keluarkan benda asing dan bersihkan saluran | |
| Tidak bisa memilih mode | Penggunaan tidak tepat | Tekan dan tahan tombol semprot, mesin otomatis masuk ke mode pembersihan otomatis, membersihkan saluran internal, dan air kotor akan mengalir kembali ke tangki air kotor |
| Pembersihan otomatis | Penggunaan tidak tepat | Tekan dan tahan tombol semprot pada pegangan selang, kepala sikat akan menyemprotkan air/uap; lepaskan tombol, maka semprotan air/uap akan berhenti. Arahkan lubang semprot ke noda agar noda terangkat dari permukaan |
| Tidak mengeluarkan air | Penggunaan tidak tepat | Tekan dan tahan tombol semprot pada pegangan selang; nosel akan menyemprot air/uap. Lepas tombol untuk menghentikannya. Sejajarkan nosel semprot pada noda untuk mengangkatnya dari permukaan kain. |
| Tidak mengeluarkan uap | Belum menempel rapat pada permukaan kain | Lepas tombol semprot, arahkan nosel hisap ke permukaan basah, tekan nosel pada noda, gerakkan maju mundur untuk membersihkan dan menghisap noda dari permukaan kain |
| Mode AIR STEAM & VACUUM tidak berfungsi | Pemanasan belum selesai, air dalam pipa harus dikosongkan | Pemanasan berlangsung selama 30 detik; lampu indikator tetap menyala setelah pemanasan |