Ⅰ. Spesifikasi Produk
|
Nama Produk |
Model No. |
Tegangan (V) |
Frekuensi(Hz) |
Daya(W) |
Jenis klasifikasi listrik |
|
KIPAS ANGIN BERDIRI |
FSRZ001 |
220-240V~ |
50Hz |
40W |
ClassII |
II. Ilustrasi Produk

- Pegangan
- Tombol
- Penutup Belakang
- Jaring Belakang
- Jaring Depan
- Kabel Listrik
- Tiang Pendek
- Tiang Panjang
- Dasar
III. Metode Instalasi
1. Sesuai gambar

2. Instalasi Utama
(A) Pegang komponen kepala mesin, putar searah jarum jam untuk memasang tiang. Lakukan hal yang sama untuk satu atau dua tiang lainnya.
(B) Setelah perakitan tiang selesai, pegang erat komponen tiang dan masukkan ke dalam lubang pada dasar, kemudian putar searah jarum jam mur plastik di bagian bawah.

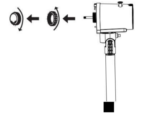
3. Cara Melepaskan Mur Kunci Kepala
Putar searah jarum jam untuk melepaskan mur pengunci kipas, kemudian putar berlawanan arah jarum jam untuk melepaskan mur pengunci jaring belakang.

4. Pemasangan Jaring Belakang
Lepaskan mur pengunci kipas dan jaring belakang pada komponen kepala, pasang jaring belakang kipas ke bagian atas motor, putar searah jarum jam untuk mengencangkan.

5. Pemasangan Kipas
Posisikan lubang tengah kipas ke poros motor, pasang dan kencangkan mur pengunci kipas berlawanan arah jarum jam.

6. Pemasangan Jaring Depan
Masukkan jaring depan ke dalam bingkai jaring belakang, putar searah jarum jam untuk mengatur dan kencangkan dengan sekrup.

IV. Petunjuk Penggunaan
- Sudut pitch atas dan bawah dapat diatur secara manual.
- Colokkan listrik, mesin dalam keadaan siaga, putar searah jarum jam untuk mode kecepatan 0-1-2-3-0-1. Putar berlawanan jarum jam untuk mode 0-3-2-1-0-3.
- Untuk fungsi oscillating, tarik tuas, tekan lagi untuk menghentikan.
- Untuk model dengan remote, arahkan remote ke sensor kipas dan tekan tombol yang diinginkan.
- Tombol ON/Standby: Tekan untuk menghidupkan, dengan kecepatan 1, tekan lagi untuk kecepatan 2, dan seterusnya sampai kembali ke mode siaga.
- Tombol Timer: Atur waktu mati otomatis kipas.
- Tombol Oscillating: Aktifkan untuk memulai mode angin oscillating, tekan lagi untuk menghentikan.
V. Pembersihan dan Perawatan
- Pastikan untuk memutus sumber listrik sebelum membersihkan.
- Jangan cuci komponen elektrik (seperti saklar atau motor) dengan air atau cairan lain.
- Hindari menggunakan alat abrasif atau solvent pada produk, gunakan sabun untuk membersihkan, kemudian keringkan dengan kain bersih.
- Jangan membongkar produk untuk modifikasi, periksa dan bersihkan produk setiap tahun untuk memperpanjang usia pakainya.
VI. Catatan Keselamatan
- Periksa tegangan listrik sebelum penggunaan.
- Jangan nyalakan kipas sebelum perakitan selesai.
- Jangan cabut steker dengan tangan basah.
- Saat kipas beroperasi, jangan memasukkan benda ke dalam jaring.
- Hindari penggunaan dekat bahan yang mudah terbakar.
- Tidak disarankan untuk digunakan langsung pada bayi atau orang tua untuk waktu yang lama.
- Jangan letakkan kipas di permukaan yang miring.
- Periksa kabel dan steker sebelum penggunaan, dan ganti jika rusak.
- Matikan dan cabut steker ketika tidak digunakan untuk menghindari kecelakaan.
- Jangan biarkan anak-anak bermain dengan kipas.