Ⅰ. Thông Số Sản Phẩm
|
Điện áp định mức(V) |
AC 220-240V |
|
Tần số định mức(Hz) |
50-60 Hz |
|
Công suất định mức(W) |
RCY-8270I, RCY-8270 1800W |
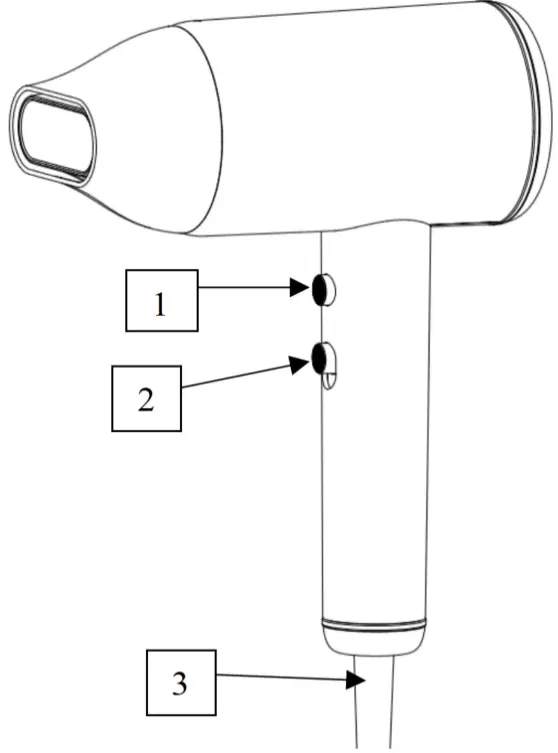
Ⅱ. Hình Ảnh Sản Phẩm

- Công tắc làm mát
- Công tắc tốc độ
- Bọc ống dây điện
Ⅲ. Thao Tác Sử Dụng
- Trước khi sử dụng
Vui lòng cẩn thận khi lấy máy sấy tóc ra khỏi hộp. Vì hộp có thể tận dụng lại để bảo quản cất giữ máy sấy trong tương lai.
- Hộp đựng
Trong hộp đựng máy sấy có:
- Máy sấy tóc
- Đầu sấy
- Hướng dẫn sử dụng
- Trước khi sử dụng vui lòng đọc kỹ hướng dẫn sử dụng
- Lắp ráp
- Lắp đầu sấy vào mặt trước của máy sấy (Nếu cần)
- Khởi động
- Tháo dây điện, cắm vào ổ cắm và bật nguồn
- Trượt công tắc vào chế độ muốn sử dụng (1 hoặc 2)
- Mức 2 gió nóng hơn mức 1
- Tắt máy
Sau khi sử dụng xong, trượt nút công tắc về vị trí Off (0)
- Kiến Thức Cơ Bản Về Máy Sấy Tóc
Gội đầu và chăm sóc tóc:
Gội sạch tóc và dùng khăn thấm khô để loại bỏ nước thừa, sau đó chia tóc thành nhiều phần. Sử dụng máy sấy tóc và lược tạo kiểu, dùng gió nóng để sấy từng phần tóc. Di chuyển máy sấy đều tay để gió nóng đi qua tóc. Hướng gió trực tiếp vào tóc, tránh để gió thổi vào da đầu.
Giữ lỗ thông khí của máy sấy luôn sạch sẽ:
Đảm bảo không có tóc che khuất lỗ thông khí khi sử dụng máy sấy.
Tránh làm khô tóc quá mức:
Để tránh tóc bị khô quá mức, vui lòng không tập trung làm nóng ở một khu vực trong thời gian dài. Hãy di chuyển máy sấy liên tục.
Tạo kiểu nhanh chóng:
Trước khi tạo kiểu với máy sấy, hãy xịt một ít nước lên tóc để làm ẩm.
Khi tạo kiểu xoăn hoặc sóng:
Dùng nhiệt độ cao để làm khô tóc hoàn toàn, sau đó chuyển sang nhiệt độ thấp hơn để định hình kiểu tóc.
Sử dụng đầu sấy:
Máy sấy này có một đầu sấy. Khi bạn cần tập trung gió sấy vào một khu vực nhỏ (như khi tạo kiểu xoăn hoặc sóng) hoặc muốn làm thẳng tóc xoăn, hãy sử dụng đầu sấy.
Máy sấy tóc gặp sự cố:
-
- Đảm bảo máy đã được kết nối nguồn điện và bật nguồn.
- Kiểm tra nút bật/tắt có đang ở chế độ mở không.
- Kiểm tra cầu chì trên phích cắm (xem thông tin điện)
- Nếu máy sấy vẫn không hoạt động bình thường, vui lòng liên hệ với dịch vụ CSKH.
Ⅳ. Vệ sinh
- Không sử dụng chất tẩy rửa lỏng hoặc khí nén để làm sạch.
- Sử dụng khăn mềm ẩm (không ướt) để làm sạch thiết bị.
Ⅴ. Những Vấn Đề Cần Lưu Ý
Những vấn đề cần lưu ý khi lần đầu sử dụng máy sấy tóc:
Cảnh báo: Máy sấy tóc này vẫn có điện trước khi nguồn điện được ngắt. Để tránh nguy cơ điện giật, vui lòng thực hiện các biện pháp sau:
- Cảnh báo: Không sử dụng thiết bị này gần bồn tắm, vòi hoa sen, bồn rửa mặt hoặc các dụng cụ chứa nước khác.
- Cảnh báo: Không sử dụng thiết bị gần nơi có nước.
- Tiếng ồn phát ra từ máy sấy không vượt quá 90db (A)
- Khi sử dụng máy sấy trong phòng tắm, hãy rút phích cắm sau khi sử dụng, vì ngay cả khi máy sấy đã tắt, việc gần nước vẫn có thể gây nguy hiểm.
- Để an toàn hơn, khuyến nghị lắp đặt thiết bị bảo vệ dòng điện rò rỉ (RCD) có dòng điện làm việc dư không quá 30 mA trong mạch điện của phòng tắm. Hãy tham khảo ý kiến từ người lắp đặt.
- Trẻ em trên 8 tuổi và người có khả năng thể chất, cảm giác hoặc trí tuệ suy giảm, hoặc những người thiếu kinh nghiệm và kiến thức, nếu đã được giám sát hoặc hướng dẫn về việc sử dụng an toàn thiết bị và hiểu các mối nguy hiểm liên quan, có thể sử dụng thiết bị này. Trẻ em không được phép chơi với thiết bị điện này. Trẻ em không được phép tự dọn dẹp hoặc bảo trì thiết bị mà không có sự giám sát.
- Cần giám sát trẻ em để đảm bảo trẻ em không chơi với thiết bị điện.
- Nếu dây điện bị hỏng, phải thay thế bởi nhà sản xuất, đại lý dịch vụ của hoặc những người có trình độ tương đương để tránh nguy hiểm.
- Vui lòng rút phích cắm máy sấy sau khi sử dụng.
- Không để máy sấy gần nước.
- Không để máy sấy cắm điện mà không có sự giám sát.
- Không kéo hoặc quấn dây điện của máy sấy.
- Khi sử dụng thiết bị gần hoặc trên người trẻ em, cần giám sát chặt chẽ.
- Không sử dụng phụ kiện mà nhà sản xuất không khuyến nghị.
- Nếu dây điện hoặc phích cắm bị hỏng, hoặc máy sấy rơi vào nước, vui lòng không sử dụng. Hãy mang thiết bị đến trung tâm dịch vụ để kiểm tra và sửa chữa.
- Đảm bảo dây nguồn không tiếp xúc với bề mặt nóng.
- Không che hoặc bịt các lỗ thông gió phía sau máy sấy, và không để máy sấy trên bề mặt mềm không thông thoáng như giường hoặc khăn. Vui lòng không nhét bất kỳ vật gì vào lỗ thông gió.
- Không sử dụng máy sấy ngoài trời hoặc ở nơi có các sản phẩm xịt khí.
- Không hướng gió nóng trực tiếp vào mắt.
- Các phụ kiện có thể nóng lên khi sử dụng. Vui lòng cẩn thận khi xử lý hoặc chạm vào.
- Không đặt máy sấy xuống trong khi máy đang hoạt động.
- Kiểm tra điện áp định mức của thiết bị để đảm bảo phù hợp với nguồn điện của bạn.
- Nếu thiết bị vô tình rơi vào nước, hãy rút phích cắm ngay lập tức. Không cho tay vào nước trước khi ngắt nguồn điện.
- Nếu dây điện bị hỏng, không sử dụng máy sấy. Phải thay thế dây điện bởi nhà sản xuất, đại lý dịch vụ hoặc người có trình độ tương đương để tránh rủi ro.
- Dây điện của thiết bị này không thể thay thế bởi người dùng. Nếu dây bị hỏng, phải thay thế bởi nhà sản xuất, đại lý dịch vụ hoặc người có trình độ tương đương.
- Đảm bảo dây điện không bị đè lên hoặc bị giẫm đạp bởi các vật dụng khác.
- Không sử dụng máy sấy trong môi trường ẩm ướt. Không để thiết bị tiếp xúc với nước, giọt nước hoặc bị văng nước.
- Các khe và lỗ trên thiết bị được thiết kế để thông gió. Vui lòng không che hoặc bịt các lỗ này, vì nó có thể gây ra quá nhiệt.
- Vui lòng không để trẻ em nhét vật gì vào các lỗ hoặc rãnh của máy sấy.
Ⅵ. FAQ
- Q1: Máy sấy tóc có công suất bao nhiêu? Có thể điều chỉnh bao nhiêu chế độ?
- A1: Máy sấy tóc này có công suất 1800W, có thể điều chỉnh 2 chế độ.
- Q2: Dây sưởi có bị đỏ lên không?
- A2: Sản phẩm của Simplus có bảo đảm chất lượng, dây sưởi sẽ không bị đỏ, ngoài ra Simplus còn có chính sách bảo hành 1 năm.
- Q3: Máy sấy tóc này có ồn không?
- A3: Máy sấy tóc này có độ ồn dưới 78DB, thích hợp cho việc sử dụng hàng ngày.
- Q4: Có chế độ gió mát và gió nóng không?
- A4: Có, máy sấy tóc này có nhiều chế độ khác nhau.
- Q5: Tay cầm của máy sấy có bị nóng không?
- A5: Vị trí tay cầm của sản phẩm có thiết kế bảo vệ, vì vậy tay cầm sẽ không bị nóng.
- Q6: Máy sấy có chức năng ion âm không?
- A6: Xin lỗi, máy sấy tóc này không có chức năng ion âm.