No.Reg:IMKG.2462.09.2024
Ⅰ. Spesifikasi
|
Nama produk |
Model No. |
kode pabrik |
Voltase |
Daya |
Frekuensi |
Jenis klasifikasi listrik |
|
CHOPPER ELEKTRIK |
DDJR003 |
B 105 |
220-240V~ |
300W |
50/60Hz |
ClassⅡ |
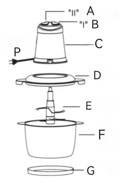
Ⅱ. Bagian dan Gambar Instalasi

- Kecepatan tinggi
- Kecepatan rendah
- Mesin utama
- Penutup cangkir
- Bilah pisau
- Mangkuk pemotong
- Alas pelindung
P. Kabel
- Catatan: Ada sedikit perbedaan antara gambar produk dan produk yang sebenarnya, harap mengacu pada produk yang sebenarnya.
Ⅲ. Petunjuk Penggunaan
- Langkah Pengoperasian
- Sebelum digunakan, harap ikuti panduan pembersihan dan perawatan untuk membersihkan mangkuk pemotong , pisau pemotong , dan tutup.
- Lepas bodi dan penutup, lalu letakkan penggiling daging di tempat yang rata, bersih, dan kering .
- Pastikan pisau pemotong diposisikan dengan benar pada posisi di tengah mangkuk pemotong;;
- Mengacu pada panduan makanan dari mangkuk pemotongan , masukkan makanan yang sesuai ke dalam mangkuk. Jika posisi pemotong menyimpang setelah memasukkan makanan ke dalam mangkuk, harap atur posisi pisau pemotong untuk memastikan poin 3 di atas terpenuhi.
- Tutup dengan penutup mangkuk, lalu letakkan bodi pada tutup mangkuk, periksa apakah penempatannya benar; dan pastikan bodi, pisau pemotong, dan tutup mangkuk sudah terpasang di tempatnya:
- Sambungkan kabel daya dan hidupkan daya .
- Pegang badan dengan tangan anda, tekan sakelar (I atau II), mesin mulai bekerja, lepaskan sakelar, mesin berhenti bekerja. Waktu pemotongan harus mengacu pada panduan memotong dan memblender makanan. Konsumen dapat mempersingkat waktu pemotongan sesuai dengan preferensi mereka untuk efek pemotongan makanan.
- Jangan langsung melepas bodi setelah melepas sakelar. Setelah bilah berhenti berputar, cabut steker, matikan daya, lalu lepas bodi. Setelah pisau pemotong berhenti berputar, lalu keluarkan makanannya ( bilah pisau sangat tajam, berhati-hatilah agar tidak menggores tangan atau bagian lain dari tubuh anda).
- Catatan : Untuk memperpanjang masa pakai produk, waktu kerja maksimum setiap kalinya tidak boleh melebihi 30 detik. Jika pemotongan masih belum selesai setelah 30 detik, biarkan produk beristirahat selama 2 menit sebelum melanjutkan pekerjaan.
- Untuk memperpanjang masa pakai mesin dan mendapatkan efek penghalusan yang baik, harap mengacu pada " Pedoman Memotong dan menghaluskan Makanan " berikut untuk penggunaan yang benar.
|
Makanan |
Berat |
Waktu pemotongan dan pengadukan maksimum (satuan: detik) |
Catatan Tambahan |
|
Daging babi/sapi |
< 800g (pertama potong kecil-kecil sekitar 20x20x50mm) |
30-an |
Membutuhkan pengangkatan tulang, kulit dan tendon. Gunakan sakelar rentang kecepatan tinggi. |
|
Bawang putih |
300 gram |
15 detik |
Gunakan sakelar rentang rendah |
|
Cabai |
300 gram |
15 detik |
Gunakan sakelar rentang rendah |
|
Wortel |
<300g (pertama potong kecil-kecil sekitar 20x20x20mm) |
15 detik |
Gunakan sakelar rentang rendah |
|
Sayur-sayuran |
300 gram |
15 detik |
Gunakan sakelar rentang rendah |
Ⅳ. Pemeliharaan
- Harap cabut steker listrik dari stopkontak tepat waktu setelah digunakan.
- Rakitan pisau dapat dibongkar untuk dibersihkan. Untuk keamanan, disarankan untuk memakai sarung tangan dan melepas rakitan mata pisau baerdasarkan bagian dan gambarinstalasi.
- Setelah dicuci dan dikeringkan, dapat dirakit. Pisau harus ditutup dengan pelindungnya untuk menghindari tangan terluka.
- Semua bagian dapat dibersihkan dengan deterjen dan spons. Jangan bersihkan dengan kawat baja keras, karena dapat merusak permukaan.
- Jangan merendam seluruh mesin di dalam air. Permukaan luar produk hanya boleh dilap dengan handuk basah. Jangan mencuci dengan air untuk menghindari kebocoran listrik dan kerusakan.
- Bila produk tidak digunakan dalam waktu lama, harap bersihkan, masukkan ke dalam kotak kemasan, dan taruh di tempat yang berventilasi dan kering, agar tidak mempengaruhi penggunaan karena kelembapan.
Ⅴ. Hal-hal yang perlu diperhatikan
- Jangan gunakan sumber listrik selain AC 220V, karena dapat menimbulkan risiko sengatan listrik atau kebakaran.
- Silakan gunakan soket secara terpisah untuk spesifikasi di atas 6A . Jika stopkontak digunakan bersama dengan peralatan listrik lainnya, bagian kabel stopkontak dapat menyebabkan ketidaknormalan seperti timbulnya panas dan kebakaran.
- Pegang steker kabel daya dengan tangan Anda, dan masukkan atau cabut steker kabel daya ke stopkontak dengan lancar .
- Jangan menggores mesin dengan benda besi keras.
- Setelah menggunakan mesin, steker kabel daya harus dicabut, jika tidak, sengatan listrik, kebocoran listrik, dan kebakaran dapat terjadi saat daya dihidupkan.
- Produk ini tidak dapat digunakan untuk memproses benda keras, seperti daging bertulang, biji kopi, lada, merica, makanan beku atau beku.
- Kisaran suhu pemotongan sayuran: 0-50 ℃, dilarang keras memasukkan mangkukpemotong sayur ke dalam oven microwave untuk pemanasan, atau memasukkan benda-benda di luar kisaran suhunya ke dalam mangkuk.
- Sebelum menambahkan makanan, harap periksa apakah mata pisau terpasang pada tempatnya dan apakah berfungsi normal. Jika bilah tidak berputar atau berputar perlahan, cabut steker terlebih dahulu untuk memeriksanya.
- Setelah menambahkan makanan, harap periksa apakah bilahpisaumenyimpang dari posisi yang benar, jika bilah pisau tidak bekerja dengan cepat dalam beberapa detik, harap lepaskan stekernya terlebih dahulu. Buang makanan berlebih dan lanjut menyalakannya kembali.
- Bilahpisau sangat tajam, harap pegangbilah pisau pada pegangannya saat membongkar dan memasang, dan jangan langsung menyentuh pisau dengan tangan Anda .
- Waktu kerja terus menerus produk tidak melebihi 30 detik. Setelah bekerja terus menerus selama 30 detik, istirahatlah selama 2 menit sebelum menggunakannyakembali. Mengambil 30 detik kerja dan 2 menit istirahat sebagai satu siklus, Anda dapat bekerja terus menerus selama 3 siklus. Setelah tiga siklus, selang waktu antara penggunaan kembali adalah 15 menit, harap tunggu hingga motor menjadi dingin sebelum bekerja.
- Jika kabel daya rusak, maka harus diganti oleh pabrik, service centeratau orang yang berkompeten serupa untuk menghindari bahaya.
- Bilahnya pisau sangat tajam, berhati-hatilah saat melepas bilahpisau, mengosongkan mangkuk pengaduk, dan membersihkan.
- Jika produk berhenti bekerja selama pengoperasian, ini mungkin disebabkan oleh perlindungan kontrol suhu mesin. Harap matikan daya dan tunggu 20-30 menit hingga dingin sebelum menggunakannya.
- Produk harus disimpan jauh dari jangkauan anak-anak. Jangan izinkan orang (termasuk anak-anak) yang tidak sehat, cacat sensorik atau mental, atau kurang pengalaman dan pengetahuan yang relevan, untuk menggunakan atau bermain dengan produk ini.
Ⅵ. FAQ
- Q1: Mengapa mata pisau pada produk Penggiling Daging ini berkarat?
- A1: Kami menyarankan Anda untuk membersihkannya menggunakan asam sitrat.
- Q2: Tombol di salah satu sisi produk Penggiling Daging ini tidak berfungsi.
- A2: Untuk permasalahan ini, silakan hubungi layanan pelanggan Kami untuk informasi lebih lanjut.
- Q3: Mengapa terdapat serbuk besi pada produk Penggiling Daging ini saat digunakan?
- A3: Hal ini terjadi karena pemasangan yang tidak tepat menyebabkan lapisan produk Penggiling Daging ini kering dan terkelupas, harap pasang kembali setelah dibersihkan.
- Q4: Mengapa mata pisau pada produk Penggiling Daging ini tidak berputar atau berputar sangat lambat?
- A4: Harap periksa titik sambungan kepala mesin. Jika kepala mesin berfungsi dengan normal, periksa apakah sudah terpasang dengan benar; jika kepala mesin tidak berfungsi atau mata pisaunya pendek, silakan hubungi layanan pelanggan Kami untuk informasi lebih lanjut.
- Q5: Mengapa terdapat cairan biru bocor pada produk Penggiling Daging ini saat digunakan?
- A5: Hal ini terjadi karena terlalu banyak menuang minyak selama digunakan, harap bersihkan sebelum digunakan. Jika masih banyak kebocoran oli setelah dibersihkan, harap menghubungi layanan pelanggan Kami untuk informasi lebih lanjut.
Importir:
PT. YAOYAOINDONESIA INFO TECH
Mitra Gading Villa, Jl. Kelapa Hibrida I Blok G1 No. 3, Desa/Kelurahan Kelapa Gading Barat, Kec. Kelapa Gading, Kota Adm. Jakarta Utara, Provinsi DKI Jakarta.
