No.Reg: IMKG.2210.09.2024
Ⅰ. Spesifikasi Produk
|
Nama Produk |
Model No. |
Tegangan Volt |
Daya Listrik |
Frekuensi |
Kapasitas |
Jenis klasifikasi listrik |
|
AIR FRYER |
RENZ0017 |
220-240V~ |
1450W |
50-60Hz |
5L |
Class I |
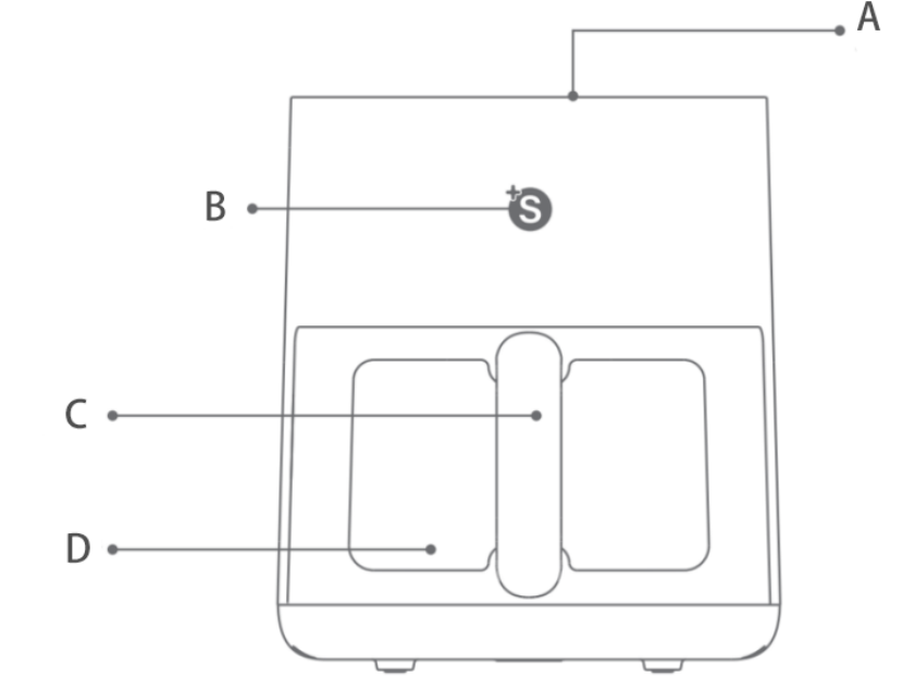
Ⅱ . Komponen Produk

- Tombol pengoperasian
- Lampu petunjukpengoperasian
- Gagang
- Kaca transparan

- Karet silikon menahan tatakan penggorengan
- KeranjangPenggorengan
- Tatakan penggorengan
- Tips dan Perhatian:
- Pengguna dapat menyesuaikan waktu memasak dengan baiksesuai kebutuhan selera Anda.
- Karet silikon platpenggorengan telah sesuai dengan standar keamanan pangan, karet silikon dapat mencegah kerusakan lapisan penggorengan akibat gesekan, digunakan bersama dengan plat penggorengan tanpa perlu membongkar.
- Untuk menghindari luka bakar, jangan langsung menyentuh bagian dalam setelah digunakan.
Ⅲ. Cara Penggunaan
- Petunjuk Penggunaan
|
Menu Makanan |
Jumlah Referensi |
Suhu |
Waktu |
|
Kentang goreng |
300 gram |
185℃ |
14 menit |
|
Kue |
150 gram |
170℃ |
10 menit |
|
Pizza |
300 gram |
170℃ |
7 menit |
|
Ikan |
400 gram |
190℃ |
20 menit |
|
Paham ayam |
500 gram |
200℃ |
20 menit |
|
Daging panggang |
200 gram |
190℃ |
10 menit |
|
Udang |
400 gram |
185℃ |
12 menit |
|
Pencairan |
500 gram |
80℃ |
30 menit |
|
Catatan: Referensi waktu menu dapat disesuaikan dengan selera Anda serta jumlah makanan. Jika bahan makanan dalam keadaan setengah beku, tidak perlu dicairkan. |
|||
- Tindakan Sebelum Penggunaan Pertama:
- Keluarkan semuaalat dari kemasan sebelum digunakan.
- Lepaskan stiker atau label dari produk dan bersihkan dengan kain bersih.
- Produk ini cocok untuk udara panas tanpa penggunaan minyak.
- Pastikan bahan masakkan masih dalam keadaan segar.
- Jika Anda menggunakan produk ini untuk pertama kali atau sudah lama tidak menggunakannya, harap panaskan terlebih dahulu selama 10 menit untuk menghilangkan sisa asap minyak.Anda mungkin akan mencium bau aneh saat menggunakannya untuk pertama kali, ini hal yang normal dan bukan kerusakan penggorengan udara.
- Petunjuk Penggunaan
- Jangan meletakkan produk di atas meja yang tidak tahan panas.Harap letakkan produk di atas meja yang stabil.
- Letakkan plat penggorengan secara datar ke dalam penggorengan, lalu letakkan makanan di atas plat penggorengan, jangan masukkan minyak dan cairan mudah terbakar lainnya ke dalam penggorengan. (Catatan: Jangan letakkan kertas alas penyerap minyakdi atas plat penggorengan untuk memanggang makanan, karena kertas alas dapat terbakar akibat suhu tinggi.)
- Masukkan penggorengan, kemudianatur waktu sesuai dengan referensi resep dan ukuran makanan, atau sesuai dengan resep dan preferensi Anda.
- Catatan: Saat memasak chestnut, harus dibuka terlebih dahulu agar tidak pecah selama proses memasak.
- Saat penggorengan ditarik keluar ditengah pengoperasian, produk otomatis Setelah didorong kembali ke dalam penggorengan, produk beroperasi kembali.
- Catatan: Setelah mengeluarkan penggorengan, jangan menyentuh bagian dalam produk untuk menghindari luka bakar akibat suhu panas tinggi.
- Selama proses memasak, disarankan untuk membalik atau mengaduk makanan selama 3-5 menit agar makanan matang lebih merata.
- Setelah matang, tarik penggorengan untuk memastikan makanan matang merata.
- Catatan: Jika makanan belum matang merata, atur ulang waktunya dan masak kembali.
- Saat proses memasak selesai, tarik penggorengan dan letakkan di atas alas tahan panas sebelum memindahkan hidangan ke piring.
- Catatan: Jangan membalikkan atau mengaduk penggorengan dengan kuat untuk menghindari sisa minyak menempel pada makanan.
- Deskripsi kunci:

Tombol ON/OFF: Tekan tombol ON/OFF, lalu tekan dan tahan beberapa detik untuk membatalkan status pengoperasian saat ini.
Tombol prasetel menu: Tekan tombol fungsi untuk memilih menu satu per satu, dan lampu menu yang dipilih akan berkedip.
Tombol pengaturan waktu: Tekan untuk menampilkan sisa waktu kerja, atau untuk mengatur waktu. Pengaturan waktu yaitu 1-60 menit. Tekan beberapa detik untuk menambah atau mengurangi waktu.
Tombol pengaturan suhu: Tekan untuk menampilkan sisa waktu kerja, atau untuk mengatur waktu. Pengaturan suhu yaitu 5°C-200°C dan suhu minimum dapat diatur hingga 80°C. Tekan dan tahan beberapa detik untuk menambah atau mengurangi waktu.
Penambahan atau pengurangan waktu: Pengaturan waktu maksimum 60 menit dan pengaturan waktu minimum 1 menit. Tekan dan tahan beberapa detik untuk menambah atau mengurangi waktu.

Penyesuaian Waktu/Suhu: Suhu akan muncul saat ikon °C aktif; Sedangkan waktu akan muncul ketika ikon min aktif.
Ⅳ. Pembersihan dan Pemeliharaan
- Jangan gunakan sikat kawat, keras atau cairan kimiakorosif lainnya untuk membersihkan penggorengan, agar tidak merusak permukaan dalam dan luar, serta lapisan plat penggorengan.
- Jangan gunakan bensin, kaporit cair, cairan kimia dan bahan pembersih beracun atau korosif lainnya untuk membersihkan.
- Jangan mencuci dan merendammesin dengan air.
- Setelah memasak, cabut adaptor mesin dari stopkontak dan tunggu hingga mesindingin sebelum dibersihkan.
- Permukaan bagian dalam dan luar penggoreng udara dapat dibersihkan dengan kain kering atau spons yang dibasahi dengan sabun cuci piring.
- Bersihkan produk setelah digunakan. Keranjang penggorengan, plat penggorengan, danbagian dalam produk dilapisi. Jangan gunakan peralatan dapur dari logam atau bahan pembersih abrasif untuk menghindari kerusakan lapisan.
- Bersihkan kotoran pada platdan penggorengan dengan merendam plat dan keranjang penggorengan dalam air panas lalu tambahkan sabun cuci piring untuk membersihkannya.
- Jika Anda perlu membersihkan tabung pemanas di bagian atas mesin, gunakan sikat pembersih saat mesin telah dingin untuk menghilangkan sisa makanan.
Ⅴ. Perhatian
Untuk menghindari cedera pada Anda dan orang lain serta kerusakan produk, harap patuhi tindakan pencegahan keselamtan berikut. Penyalahgunaan tanpa mengikuti arahan dapat menyebabkan cedera atau kecelakaan.
Produk ini tidak menyarankan dioperasikan oleh anak kecil dan penyandang disabilitas tanpa pengawasan.
■ Larangan:
- Dilarang menggunakan stopkontak berkualitas rendah, menyentuh dengan tangan basah, barang yang mudah terbakar, dan melarang anak-anak mengoperasikannya.
- Jangan letakkan produk dekat denganbahan yang mudah terbakar. Jauhkan dari gorden, kain, dinding, atau barang serupa saat digunakan untuk mencegah
- Jangan letakkan tangan atau wajah Anda di dekat ventilasi udara mesin selama pengoperasian untuk menghindari luka bakar.
- Jangan menutupi ventilasi udara mesin dengan kain selama pengoperasian untuk menghindari kecelakaan atau kerusakan produk.
- Jangan memodifikasi: Kecuali orang petugas teknisi, selain itu dilarang membongkardan memperbaiki, untuk menghindari kebakaran, sengatan listrik, dan
- Jangan gunakan bila adaptor mesin atau kabel listrik
- Untuk mencegahkerusakan kabel listrik dan kebakaran atau sengatan listrik, hindari hal-hal berikut: Kabel listrik dibengkokkan secara paksa, dekat dengan suhu tinggi, diikat, atau menimpanya dengan beban berat.
- Selama proses pengoperasian, dilarang memindahkan atau mengaduk produk.
- Jangan biarkan anak-anak mengoperasikan produk. Jauhkan dari jangkauan bayi dan anak kecil untuk menghindari sengatan listrik, luka bakar dan kecelakaan berbahaya lainnya.
- Jangan masukkan pin, kabel besi atau benda lainke dalam ventilasi udara di bagian bawah produk untuk menghindari sengatan listrik.
- Selama pengoperasian, saluran keluar udara tidak boleh menghadap kabel listrik.
■ Persyaratan Wajib:
- Mesin tidak boleh direndam dalam air atau disemprot dengan air.
- Produk ini hanya untuk penggunaan di dalam ruangan.
- Gunakan stopkontakdengan kabel arde arus lebih dari 10A saja. Jika digunakan bersamaan dengan peralatan listrik lainnya, hindari kebakaran dan bahaya lain yang disebabkan oleh stopkontak yang tidak memenuhi standar.
- Segerabersihkan adaptor, ujung kabel listrik, dan stopkontak produk jika ada debu atau air untuk menghindari kebakaran, sengatan listrik, atau korsleting.
- Jika Anda perlu memperbaiki produk atau mengganti komponen lainnya, silakan kunjungi tempat perbaikanprofesional yang memenuhi standar. Untuk menghindari bahaya penggunaan dan perawatan yang tidak tepat atau pemilihan aksesori yang tidak tepat.
- Adaptor mesinharus benar-benar terpasang di dalam stopkontak untuk menghindari kebakaran, sengatan listrik, dan korsleting.
- Jangan memasang atau mencabut adaptordengan tangan basah untuk menghindari sengatan listrik atau cedera.
- Jika kabel listrikrusak, maka perlu diganti oleh pabrik dari produk, atau departemen serupa untuk menghindari bahaya.
- Alat tidak dapat dioperasikan dengan pengatur waktu eksternal atau sistem kendali jarak jauh(remote control).
- Jangan memasukkan benda-benda berikut di dalam produk, seperti: kertas, plastik, atau bahan yang mudah terbakar.
- Harus beriruang kosong yang cukup di sekitar produk, sekitar 20cm dari produk/barang lain, dan permukaan tidak boleh tertutupi barang lain.
- Jangan mengoperasikanproduk tanpa memasukkan keranjang penggorengan ke dalam mesin.
-
Pada penggunaan pertama produk ini, mungkin akan terdapat sedikit asap; hal ini normal.
■ Peringatan hal-hal yang dapat mengakibatkan cedera atau fatal:
- Orang dengan alat pacu jantung atau pengguna alat bantu dengarharus berkonsultasi dengan petugas medis resmi yang merujuk ke perangkat medis untuk mendapatkan petunjuk saat menggunakan produk ini.
- Saat menggunakan produk, sentuh hanya antarmuka pengoperasian yang ditentukan untuk mencegah luka bakar.
- Selama pengoperasian alat, suhu beberapa permukaan produk menjadi tinggi, dan permukaan pemanas jugamenjadi panas saat digunakan.
- Saat produk tidak digunakan, pastikan untuk mencabut kabel listrikuntuk menghindari bahaya yang mungkin terjadi.
■ Perhatian; Hal-hal yang dapat menyebabkan cedera ringan atau kerusakan produk:
- Produk harus digunakan di atas meja yang stabil dan tahan panas untuk menghindari kerusakan atau kecelakaan produk.
- Pemeliharaan yang tidak tepat atau korsleting pada beberapa komponen penting dapat mengakibatkan kerusakanproduk yang mengakibatkan panas berlebih atau kebakaran.
■ Perhatian
- Jika gambar produk tidak sesuai dengan produk yang diterima, produk tetap dapat dioperasikan.
- Untuk penggunaan pertama, perlu dinyalakan dengan keadaan kosong selama 10 menit. Sedikit asap atau bau dapat terjadi selamaproses tersebut. Ini adalah proses yang
- Sebelum produk diopersikan, harap periksa apakah keranjangpenggorengan sudah terpasang untuk menghindari kegagalan.
- Jika Anda menemukan kesalahan pada produk, harap hentikan penggunaan dan segera hubungi departemen layanan pelanggan kami.
- Platpenggorengan dan keranjang penggorengan harus digunakan bersamaan.
- Harap simpan buku panduan penggunaan untuk referensi di masa mendatang.
Importir:
PT. YAOYAOINDONESIA INFO TECH
Mitra Gading Villa, Jl. Kelapa Hibrida I Blok G1 No. 3, Desa/Kelurahan Kelapa Gading Barat, Kec. Kelapa Gading, Kota Adm. Jakarta Utara, Provinsi DKI Jakarta.
