Cart
/

ID-WET DRY VACUUM CLEANER TANPA KABEL XDJH001 Panduan Penggunaan Versi Indonesia

No.Reg: IMKG.1971.08.2024

. Spesifikasi Model

Nama Produk

WET DRY VACUUM CLEANER TANPA KABEL

Model No.

X8

Tegangan Volt

22.2Vdc

Daya Listrik

200W

Durasi

>35 mnt

Waktu pengisian

5,5-7H

Class

Class Ⅲ

 

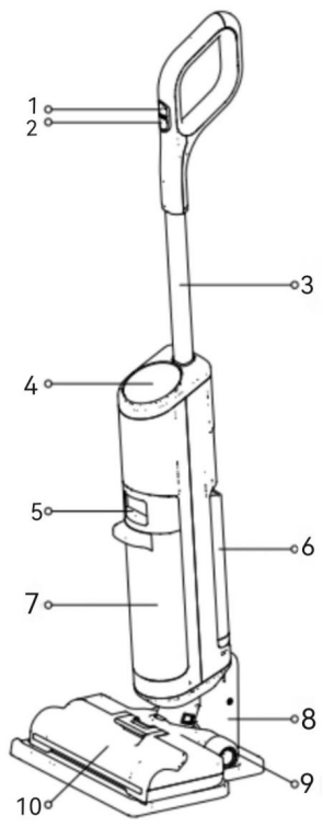
. Komponen dan Gambar Instalasi

  1. Hidupkan/Matikan
  2. Tombol Mode
  3. Tabung Aluminium
  4. Layar Tampilan LED
  5. Tombol Pelepas Tangki Air Kotor
  6. Tangki Air Bersih
  7. Tangki Air Kotor
  8. Tempat Pengisian Daya
  9. Penutup Sikat Rol
  10. Roda Bantu
  • TempatPengisian Daya

  1. Pengisian kontak
  2. Bateraipengisian daya
  • Tampilan Layar

  1. Modekuat
  2. Modekering
  3. Tangki air kotor
  4. Status baterai/Errror
  5. Mode otomatis
  6. Mode seret basah
  7. Mode pembersihan mandiri
  8. Tangki air bersih
  9. Pengisiandaya
  • Petunjuk instalasi pegangan (handle)
  1. Masukkan ujung peganganke port host sepanjang arah vertikal dari kawat. Setelah mendengar klik, masukkan sekrup dan kencangkan dengan 
    Pastikan bahwa pegangannya kencang tidak longgar, penginstalan pegangan berhasil.

 

  1. Jika Anda ingin membongkar, lepaskan sekrup di bagian belakang unit , dan tarik pegangan hingga lepas.

. Instruksi Pengoperasian

  • Petunjuk pengisian daya
  1. Tempatkan perangkatpengisian daya di tanah horizontal yang diletakkan di dekat Sambungkan salah satu ujung adaptor daya ke dudukan pengisi daya dan ujung lainnya ke stopkontak rumah.
  2. Untuk menghindari bahaya tersandung, harap letakkan perangkat dudukan pengisi daya di dekat dinding saat mengisi daya. Jika layarperangkat pengisi daya menyala, maka sedang dalam status pengisian daya.
  3. Isi daya hingga penuh sebelum digunakan pertama kali.
  • Pengeringan panas (opsional)
  1. Setelah perangkat ditempatkan di dasar pengisian daya, sistem akan secara otomatis mengaktifkan fungsi pemanasan dan pengeringan setelah mendeteksi pengisian daya, dan fungsi tersebut akan mati secara otomatis setelah perangkat dilepas.
  2. Mengatur suhu pemanasan tidak lebih tinggi dari 45 ℃, lebih tinggi dari 45 ℃ akan secara otomatis mematikan pemanasan, ketika suhu lebih rendah dari 45 ℃, fungsi pemanasan menyala. Waktu pemanasan diatur selama 8 jam.
  •  Catatan:
  1. Isi daya alat hanya dengan adaptor yang disertakan.
  2. Selama tidak digunakan dalam waktu lama, alat harus diisi dayanyasetiap 3 bulan sekali untuk kinerja optimal. Ini mungkin memakan waktu 6-8 jam untuk daya terisi
  • Persiapan Penggunaan
  1. Sebelum penggunaan pertama, harap isi daya terlebih dahulu(lihat “Petunjuk Pengisian Daya” untuk detailnya). 
  2. tekan tombol untuk waktu yang lama untuk menghidupkan perangkat . tekan tombol sebentar dan alat akan menyala secara OTOMATIS . Tekan lama lagi untuk mematikan perangkat.
  • Modus pembersihan:
  1. Mulai default masuk ke mode seret basah; tekan lama tombol mode seret basah agar perangkat beralih mode seret kering;
  2. Tekan tombol kuat untuk masuk ke mode kuat , dan tekan tombol kuat lagi untuk membatalkan.

 

  1. Daya Hidup/Mati
  2. Mengepel / Tombol mode kuat

     3. Jangan membaringkanalat lebih dari 140 ° untuk melindungi dari kebocoran air.

     4. Tempatkan alat pada dudukan pengisi daya secara vertikal setelah digunakan untuk diisi ulang dan disimpan.

  • Mode Membersihkan Diri
  • Fungsi pembersihan mandiri hanya dapat diaktifkan saat peralatan diisi dayanya dan baterai memiliki daya lebih dari 10%.
  1. Alat tegak lurus pada dudukan pengisi daya dan pastikan tangki air bersih terisi penuh.
  2. Tekan tombol sebentar, dan indikator pembersihan mandiri akan menyala di layar dan pembersihan mandiri dimulai.
  3. Alat akan terus mengisi ulang setelah pembersihan mandiriselesai. Setelah pembersihan mandiriselesai, bersihkan tangki air kotor secara tepat waktu.

Ⅳ. Pembersihan

  1. Larutan pembersih dalam jumlah besar yang masuk ke dalam motor dapat menyebabkan kerusakan pada alat.
  2. Tambahkan larutan seperti yang diinstruksikan di bagian Pengoperasian. Kami merekomendasikan penggunaan larutan pembersih yang disediakan. Jangan gunakan produk dengan larutan asam, basa, atau zat apa pun yang berbahaya bagi lingkungan.
  3. Jauhkan dari jangkauan anak-anak. Jika ada larutan yang masuk ke mata, segera siram dengan air bersih. Jika ada larutan yang tertelan secara tidak sengaja, segera dapatkan perawatan medis.
  4. Pembuangan air kotor dan larutan harus sesuai dengan peraturan lingkungan setempat.
  • Tangki Air Bersih
  1. Tekan tombol pelepas tangki air bersih untuk mengeluarkannya dari alat.
  2. tutup tangki dan isi tangki dengan air bersih. Setelah menambahkan air tutuptangki air dengan kuat.
  3. Hanya gunakan air di bawah 140F°/60C°.
  4. JANGAN GUNAKAN AIR PANAS.
  5. Tempatkan tangki kembali ke alat. Anda harus mendengarbunyi "Klik" .
  • Tangki Air Kotor
  1. Disarankan untuk mengosongkan tangki air kotor setelah digunakan, dan setelah fungsi pembersihan mandiri
  2. Tekan tombol pelepas tangki air kotor dan tarik keluar seperti yang ditunjukkan.
  3. Pegang tangki air dengan satu tangan, tarik penutup tangki dengan tangan lainnya, gunakan sendok saringan untuk menyaring air kotor untuk pemisah sampah basah dan kering.
  4. Bilas tangki dan penutup tangki dengan air bersih. Bersihkan dinding bagian dalam tangki dengan sikat pembersih yang disertakan.
  5. Setelah pembersihan selesai, tutup penutup tangki, pasang tangki ke posisi semula, dan dorong perlahan tangki sampai Anda mendengar bunyi klik.
  • Saringan
  1. Disarankan untuk membersihkannya setelah digunakan .
  2. Lepaskan filter dari bagian atas tangki air kotor. Bilas filter dengan air bersih. Keringkan secara menyeluruh sebelum memasangnya kembali.

  • PenutupSikat Rol
  1. Menekan tombol dan menarik ke atas untuk mengambil, lalubilas dengan air.
  2. Saat mengganti, selalu kaitkan penutup sikat pada tempatnya untuk menghindari kebocoran.

  • Sikat Rol
  1. Lepaskan sikat roldengan memegang tab rol sikat dan menariknya ke atas.
  2. Gunakan sikat pembersih yang disertakan untuk menghilangkan rambut dan kotoran yang tersangkut di sikat rol dan bilas dengan air bersih. Sikat rol harus benar-benar dikeringkan sebelum digunakan.
  3. Membersihkan rambut dan kotoran dari sikatrol dan bisa dibersihkan dengan tisu atau kain lembab.
  4. Setelah pembersihan selesai, sejajarkan ujung kanan rollersikat dengan slot yang tepat di alatnya dan dorong ujung kiri ke slot kiri di alatnya juga hingga terkunci pada tempatnya.
  5. Catatan: Rol sikat cadangan disertakan bersama peralatan Anda untuk memudahkan penggantian.

Ⅴ . Tindakan pencegahan

Saat menggunakan alat listrik, tindakan pencegahan dasar harus selalu diikuti, termasuk yang berikut :

BACA SEMUA PETUNJUK SEBELUM MENGGUNAKAN (PERANGKAT INI). Gagal mengikuti peringatan dan petunjuk dapat menyebabkan sengatan listrik, kebakaran, dan/atau cedera serius.

  1. Gunakan hanya seperti yang dijelaskan dalam panduan pengguna ini. Gunakan hanya alat yang direkomendasikan oleh pabrik.
  2. Gunakan hanya di dalam ruangan, pada permukaan lantai yang tidak berkarpet seperti vinil, ubin, kayu bersegel, dll. Berhati-hatilah agar tidak menabrak benda yang mudah lepas atau seperti pinggiran karpet.
  3. Janganbiarkan untuk digunakan sebagai mainan. Perhatian yang cermat diperlukan bila digunakan oleh atau di dekat anak-anak, hewan peliharaan, atau tanaman.
  4. Jangan pegang pengisi daya, termasuk steker pengisi daya, dan terminal pengisi daya dengan tangan basah.
  5. Jangan memasukkan benda apa pun ke dalam lubang. Jangan gunakan bendaapa pun yang bisa memblokir; jauhkan dari debu, serat, rambut, dan apa pun yang dapat mengurangi aliran udara.
  6. Jangan merendam vakum dalam cairan. Gunakan hanya pada lantai yang dibasahi untukproses pembersihan.
  7. Jangan gunakan tanpa filter.
  8. Berhati-hatilah saat membersihkan tangga.
  9. Cegah aktivasi yang tidak disengaja. Pastikan sakelar dalam posisi mati sebelum mengangkat atau membawa alat.
  10. Alat ini tidak boleh digunakan oleh anak-anak berusia 8 tahun ke bawah dan orang dengan kekurangan kemampuan fisik, indera atau mental atau kurang pengalaman dan pengetahuan,jika mereka telah diberi pengawasan atau petunjuk mengenai penggunaan alat dengan cara yang aman dan memahami bahayanya. Anak-anak tidak boleh bermain dengan alat ini. Pembersihan dan perawatan penggunaan tidak boleh dilakukan oleh anak-anak tanpa pengawasan.
  11. MATIKAN alat dan putuskan sambungan dari stopkontak listrik untuk penyimpanan jangka panjang.
  12. Selalu bersihkan Tangki Air Kotor setelah digunakan untuk menghindari kemungkinan penyumbatan, yang dapat menyebabkan rendahnya daya hisap, motor terlalu panas, atau mengurangi masa pakai alat.
  13. Setelah menggunakan alat jangan lupa simpan dengan tepat di dalam ruangan di tempat yang kering.
  14. Jangan gunakan alat dikedalaman air lebih dari 5 mm di atas permukaan.
  15. Jangan menempatkan atau menenggelamkan alat di genangan air atau mencoba membersihkan area yang tergenang air.
  16. Film plastik bisa berbahaya. Untuk menghindari bahaya mati lemas, jauhkan dari jangkauan anak-anak.
  17. Gunakan hanya jenis dan jumlah cairan yang ditentukan di bawah bagian pengoperasian panduan ini. Cairan tidak boleh diarahkanke peralatan yang mengandung listrik 
  18. Jangan gunakan penyedot debu dengan kabel atau steker yang rusak. Jika kabel atau steker rusak, maka harus diganti oleh produsen, agen servisnya, atau orang yang memiliki kualifikasi serupa untuk menghindari bahaya.
  19. Jangan gunakan untuk mengambil bahan dan bahan kimia berbahaya, seperti pelarut, pembersih saluran air, asam kuat, atau alkali kuat.
  20. Jangan gunakan alat di ruang tertutup yang penuh dengan uap yang dikeluarkan oleh cat berbahan dasar minyak, tiner cat, beberapa bahan anti-ngengat, debu yang mudah terbakar, atau uap yang mudah meledak atau beracun lainnya.
  21. Jangan mengambil apapun yang terbakar atau berasap, seperti rokok, korek api atau abu panas.
  22. Jangan gunakan untuk mengambil benda tajam, seperti paku logam, pecahan kaca, klip kertas logam, atau pin.
  23. Jangan gunakan untuk mengambil partikel sangat halus, seperti kapur, semen, serbuk gergaji, bubuk gipsum, atau abu.
  24. Hentikan penggunaan segera jika alat terlalu panas, mengeluarkan suara yang tidak biasa, mengeluarkan bau yang tidak biasa, kekuatan menyedot rendah, atau listrik bocor.
  25. Terminal output basis pengisi daya tidak boleh terhubung pendek. Jangan gunakan dengan kabel atau pengisi daya yang rusak. Jika alat terjatuh, rusak, ditinggalkan di luar ruangan, jatuh ke dalam air, atau tidak berfungsi sebagaimana mestinya, kembalikan ke pusat servis.
  26. Jauhkan kabel pengisi daya dari permukaan yang panas, seperti perapian atau pemanas, untuk menghindari deformasi casing.
  27. Jangan pegang steker pengisi daya atau alat dengan tangan basah. Untuk mencabut, pegang steker pengisi daya, bukan kabelnya.
  28. Jangan menarik atau membawa pengisi daya dengan kabel, menggunakan kabel sebagai pegangan, menutup pintu saat ada kabel, atau menarik kabel di sekitar ujung atau sudut yang tajam.
  29. Jangan gunakan alat yang rusak atau dimodifikasi. Baterai yang rusak atau dimodifikasi dapat menunjukkan perilaku yang tidak terduga yang mengakibatkan kebakaran, ledakan, atau risiko cedera.
  30. Jangan memaparkan alat ke api atau berlebihan Paparan api atau suhu di atas 130° C dapat menyebabkan ledakan.
  31. Ikuti semua petunjuk pengisian daya dan jangan mengisi daya alat di luar rentang suhu yang ditentukan dalam baterai dan meningkatkan risiko kebakaran.
  32. Alat harus diputuskan sambungannya dari catu daya saat melepas baterai. Jauhkan baterai dari jangkauan anak-anak. Jangan pernah memasukkan baterai ke dalam mulut. Jika tertelan, hubungi dokter Anda atau kontrol pengawas racun setempat.
  33. Jangan bakar alat meskipun rusak parah. Baterai harus dibuang dengan aman, dan harus dikeluarkan dari peralatan sebelum dibuang untuk menghindari ledakan api.
  34. Garansi atau pengembalian produk tidak berlaku jika produk bermasalah akibat penggunaan tablet atau cairan pembersih yang bukan dibeli dari toko resmi Simplus.
  • Safeguards penting :
  1. Lakukan servis oleh petugas reparasi yang memenuhi syarat hanya dengan menggunakan suku cadang pengganti yang identik. Ini akan memastikankeamanan produk tetap terjaga.
  2. Jangan memodifikasi atau mencoba memperbaiki alat kecuali seperti yang ditunjukkan dalam petunjuk penggunaan dan perawatan.
  3. Jangan gunakan dan simpan di lingkungan yang sangat panas atau dingin (di bawah 0℃ /32°F atau di atas 40°C/104°F). Harap isi daya vakum nirkabel pada suhu di atas 0℃ /32° F dan di bawah 40℃ /104° F).
  4. Jika alat terjatuh, rusak, ditinggalkan di luar ruangan, jatuh ke dalam air, atau tidak berfungsi sebagaimana mestinya, jangan pernah mencoba mengoperasikannya. Harap perbaiki di pusat layanan resmi.

 

Importir:

 

PT. YAOYAOINDONESIA INFO TECH

Mitra Gading Villa, Jl. Kelapa Hibrida I Blok G1 No. 3, Desa/Kelurahan Kelapa Gading Barat, Kec. Kelapa Gading, Kota Adm. Jakarta Utara, Provinsi DKI Jakarta.