SPECIFICATIONS
|
Product Name |
Model No. |
Filter material |
Flow rate |
Working pressure |
Applied temperature |
Total purification volume |
Recommended replacement cycle |
|||
|
DRINKING WATER FILTRATION |
JSQH003 |
Activated Carbon Block |
2L/min; 0.5GPM |
15-100 psi |
41-122°F |
1000L |
2-3 months(depends on the local water quality) |
|||
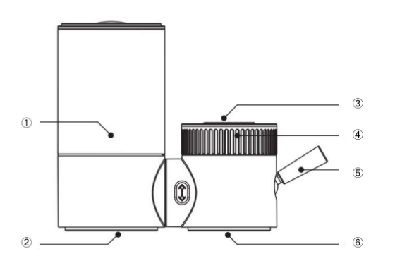
ILLUSTRATION

①Main Housing
②Purified Water Outlet
③Tap Connector Parts
④Tap Connector Ring
⑤Purified Water Switch
⑥Raw Water Outlet

①teflon tap
②wrench
③waterproof washer
④ultra-filtration filter element : E-multifunction connector; ABFG-internal thread; CD-external thread
ASSEMBLY
- Remove the original faucet adapter if there is an adapter in your faucet. Choose the right adapter to match your faucet threading.
- Installation method of threadless faucet

Loose the multifunctional connector with a screwdriver, and put it on the outlet of a threadless faucet.
Then use the screwdriver to tighten the connector. Make sure it is tightly fixed to avoid water leakage.

Please check the connecting rings and make sure the washer is inside. If the washer is inside, tighten the rings and multifunctional connector, then turn on the faucet filtration system. Switch between two modes to check for leaks.
If there is no water leakage, turn on the faucet to rinse the purifier until it flows out clean and pure water.
- Installation method of internal thread faucet

Prepare required accessories and remove the bubbler from the faucet.

Choose the suitable waterproof washer and thread connector.
Install them into the faucet spout and use the wrench to tighten it.❗Remember to install the waterproof washer to avoid water leakage.

Check the waterproof washer. Tighten the faucet filtration system into the inner thread connector. Turn on the faucet filtration system. Switch between two modes to check for leaks.
If there is no water leakage, turn on the faucet to rinse the purifier until it flows out clean and pure water.
- Installation method of external thread faucet

Prepare required accessories and remove the bubbler from the faucet.❗Remember to install the waterproof washer.

Choose the suitable waterproof washer and inner thread connector. Install them into the faucet spout and use the wrench to tighten it.❗Remember to install the waterproof washer to avoid water leakage.

Check the waterproof washer.Tighten the faucet filtration system into the inner thread connector and turn it on. Switch between two modes to check for leaks. If there is no water leakage, turn on the faucet to rinse the purifier until it flows out clean and pure water.
OPERATION
Switch the lever up, and unfiltered water will run through. Switch the lever down, and filtered water will run through.
CAUTION
- Applicable water pressure for the purifier is 0.1-0.4Mpa. When using in high pressure areas,please reduce the water consumption.
- Applicable temperature is 41-122°F. Please do not use in hot water. If you accidentally passhot water through the purifier, the filtered water will temporarily smell bad.
- Please do not block the water outlet of the purifier or connect it with other equipment to avoid damage.
- Children must use it under adult supervision to avoid accidental injury.
- Before each use, run water through the filter for 5 to 10 seconds to activate the filter. Flush the system for 1 minute before use after a long time of non-use.
- If you encounter any problems with use or installation, please feel free to contact our customer service.
- Note: It is recommended to replace the filter element every 2-3 months, but due to the different water quality in different regions, the service life may be shortened by the impact of water quality, please refer to the actual situation. Do not use filter element other than this brand to avoid damage to the water purifier.
- The lifespan of the water filter element is estimated based on normal activities such as cooking rice, washing vegetables, and boiling water, or for purposes requiring high-purity water. It does not include estimates for activities like hand washing or other uses.
-
This appliance is not intended for use by persons (including children) with reduced physical, sensory or mental capabilities, or lack of experience and knowledge, unless they have been given supervision or instruction concerning use of the appliance by a person responsible for their safety.
-
Children should be supervised not to play with the appliance.