Ⅰ. ข้อมูลจำเพาะ
|
ชื่อผลิตภัณฑ์ |
รหัสผลิตภัณฑ์ |
พิกัดแรงดันไฟฟ้า |
กำลังไฟ |
ความถี่ |
อินพุต |
เอาต์พุต |
|
เครื่องดูดฝุ่นไร้สาย |
XCQH003 |
22.2V |
160W |
50Hz |
100-240V~50/60Hz 0.4A |
27V 500mA |
Ⅱ. องค์ประกอบผลิตภัณฑ์

- ตัวเครื่อง
- ตัวเชื่อมต่อ
- ท่อ
- แปรงถูพื้น
- หัวดูดแบนยาว
- ที่ชาร์จ
Ⅲ. คำแนะนำในการติดตั้ง
- หมายเหตุ: อย่าเสียบปลั๊กขณะที่ทำการติดตั้ง
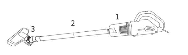
- ตั้งตรง (โดยใช้วิธีต่อท่อ)
- ขั้นแรก ให้เสียบขั้วต่อ (1) เข้ากับช่องตัวอากาศเข้าของตัวเครื่อง ,จากนั้นใส่หัวดูดของแปรง5^พื้น (3) เข้าไปในช่องดึงกลับ ท่อดูด (2) จากนั้นใส่ช่องดูดของแปรงถูพื้น (3) ลงในท่อยืด (2) หลังจากเสร็จสิ้น ดังแสดงในรูปที่ 1

รูป 1
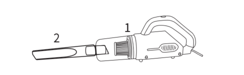
- ใช้มือถือ (ไม่ต้องใช้ท่อ)
- จับที่จับของเครื่องดูดฝุ่นด้วยมือ,เสียบหัวต่อ (1) เข้ากับช่องดูดของตัวเครื่องก่อน จากนั้นจึงใส่ตัวดูดแบบเรียบ (2) ใส่ตัวเชื่อม1) ตามที่แสดงในรูปที่ 2
- เสียบปลั๊กไฟ,แล้วกดสวิตช์เพื่อทำความสะอาดและกำจัดฝุ่น

รูป 2
- หลังการใช้งาน
- หลังการใช้งาน ,ให้ปิดสวิตช์ไฟ ดึงปลั๊กออกจากเต้ารับ ,จากนั้นม้วนสายไฟให้เรียบร้อย
- เสียบปลั๊กไฟแล้วกดสวิตช์เพื่อทำความสะอาดและกำจัดฝุ่น
- หมายเหตุ: แปรงถูพื้นเหมาะสำหรับพื้นที่ขนาดใหญ่ เช่น ใต้โต๊ะและใต้ตู้ ส่วนแปรงดูดแบน/กลมแบบ 2 in 1เหมาะสำหรับพื้นที่ขนาดเล็ก เช่น โซฟา ,โต๊ะ ,เก้าอี้ และผ้าม่าน
Ⅳ. การทำความสะอาดและการบำรุงรักษา
- หมายเหตุ: โปรดดึงปลั๊กไฟออกก่อนทำความสะอาดและบำรุงรักษา
- ทำความสะอาดชุดไส้กรอง (ถอดปลั๊กก่อนทำความสะอาด)
- เมื่อแรงดูดอ่อนลง , อาจเป็นไปได้ว่าตัวเก็บฝุ่นและชุดตัวกรองจุฝุ่นเต็มแล้ว และควรทำความสะอาดไส้กรองทันที
- ถอดถ้วยเก็บฝุ่น: ดังแสดงในรูปด้านล่าง , สามารถถอดแยกออกได้
![]()
![]()
- ทำความสะอาดถ้วยเก็บฝุ่น: นำตลับกรองออกจากถ้วยเก็บฝุ่นและแยกออกจากกัน โดยทั่วไป,จะต้องค่อยๆ เช็ดฝุ่นที่สะสมบนถ้วยเบาๆ เพื่อทำความสะอาด หลังจากล้างแล้วให้ใส่กลับเข้าไปในถ้วยเก็บฝุ่นแล้วใช้อีกครั้ง (ดังภาพที่แสดงด้านล่าง) เพราะตัวกรองจะเสียหายตามธรรมชาติ ควรเปลี่ยนแผ่นกรองใหม่เป็นประจำ หากต้องการซื้อ โปรดติดต่อสำนักงานบริการหลังการขาย ,สามารถนำกลับมาใช้งานได้
![]()
- หลังการใช้งานทุกครั้ง , โปรดทำความสะอาดฝุ่น/ขยะในถ้วยเก็บฝุ่นเพื่อหลีกเลี่ยงการสะสมของฝุ่นหรือแบคทีเรีย , ดังที่แสดงด้านล่าง
- หลังจากถอดถ้วยเก็บฝุ่นออกแล้ว , ให้ทำความสะอาดถ้วยเก็บฝุ่นและไส้กรองให้สะอาด (ล้างทำความสะอาดได้ แต่ต้องเช็ดให้แห้งก่อนใช้งาน) ดังรูปด้านล่าง;

- สังเกต! ตรวจสอบให้แน่ใจว่าไม่ได้เสียบปลั๊กเครื่องดูดฝุ่นก่อนที่จะจัดการบำรุงรักษาและอุปกรณ์ทั้งหมด
- สังเกต! เพื่อเพิ่มประสิทธิภาพการดูดฝุ่น ต้องทำความสะอาดเครื่องดูดฝุ่นเป็นประจำ
- สังเกต! หากกลไกเก่าเกินไปหรือเสียหาย ,โปรดติดต่อตัวแทนจำหน่ายเพื่อซื้อการเคลื่อนไหวใหม่เพื่อทดแทน
- สังเกต! หากไม่ทราบหรือไม่เข้าใจปัญหาของผลิตภัณฑ์ ,โปรดติดต่อผู้ให้บริการตัวแทนจำหน่ายบนบรรจุภัณฑ์เพื่อสอบถาม
- สังเกต! ทำความสะอาดท่อเก็บฝุ่น: การทำความสะอาดท่อเก็บฝุ่นเป็นประจำสามารถเพิ่มประสิทธิภาพการเก็บฝุ่นของเครื่องดูดฝุ่นและป้องกันไม่ให้เครื่องดูดฝุ่นร้อนเกินไป
- สังเกต! เมื่อใช้เครื่องดูดฝุ่นหมดแล้ว ,โปรดทำความสะอาดที่เก็บฝุ่นทันทีเพื่อรักษาแรงดูดที่ดีที่สุดสำหรับการใช้งานครั้งต่อไป
- สังเกต! เมื่อท่อเก็บฝุ่นไม่แห้งและเปียกหลังจากทำความสะอาด ,โปรดอย่าใส่เข้าไปในเครื่องดูดฝุ่นและใช้กับไฟฟ้า เนื่องจากท่อเก็บฝุ่นแบบเปียกอาจทำให้เครื่องดูดฝุ่นเสียหายได้ง่าย
Ⅴ. คำแนะนำเพื่อความปลอดภัย
- เพื่อความปลอดภัยของคุณและป้องกันความเสียหายต่อทรัพย์สิน ,โปรดอ่านและปฏิบัติตาม "คำแนะนำเพื่อความปลอดภัย" อย่างระมัดระวัง
- ก่อนใช้งาน ,โปรดอ่านคู่มือการใช้งานนี้อย่างละเอียด
- ก่อนใช้งาน โปรดตรวจสอบว่าแรงดันไฟฟ้าที่ผลิตภัณฑ์นี้กำหนดตรงกับแรงดันไฟฟ้าในบ้านหรือไม่
- ห้ามใช้ผลิตภัณฑ์นี้นอกช่วงที่กำหนด
- โปรดใช้ตามฟังก์ชั่นการออกแบบของเครื่องดูดฝุ่น
- ผลิตภัณฑ์นี้ไม่ได้มุ่งหมายให้ใช้งานโดยบุคคล (รวมถึงเด็ก) ที่บกพร่องทางร่างกายหรือจิตใจ หรือผู้ที่ขาดประสบการณ์และความรู้ในการดำเนินงานที่เกี่ยวข้อง เว้นแต่จะมีผู้รับผิดชอบด้านความปลอดภัยดูแลและสั่งให้ใช้ผลิตภัณฑ์นี้
- ผลิตภัณฑ์นี้เป็นเครื่องดูดฝุ่นแบบแห้ง ,โปรดอย่าใช้เครื่องดูดฝุ่นเพื่อดูดผงซักฟอก ,น้ำมันก๊าด ,แก้ว ,เข็ม ,ฝุ่นเปียกน้ำ ,สิ่งปฏิกูล ,ไม้ขีดไฟ และสิ่งของอื่นๆ
- โปรดเก็บเครื่องดูดฝุ่นให้ห่างจากไฟและสถานที่ที่มีความชื้นสูงอื่นๆ
- ห้ามใช้เครื่องดูดฝุ่นดูดน้ำและของเหลวอื่นๆ และห้ามล้างเครื่องดูดฝุ่นด้วยน้ำ
- เมื่อคุณจำเป็นต้องทำความสะอาดหรือซ่อมบำรุงเครื่องดูดฝุ่น และเมื่อไม่ได้ใช้งานเครื่องดูดฝุ่น โปรดถอดปลั๊กไฟและอย่าดึงสายไฟ
- เมื่อใช้เครื่องดูดฝุ่น โปรดระวังอย่าปิดกั้นพอร์ตดูด มิฉะนั้น มอเตอร์จะทำงานหนักเกินไปและเสียหาย
- เมื่อใช้เครื่องดูดฝุ่น โปรดใส่ใจกับการติดตั้งกรอบตัวกรองฝุ่นเพื่อป้องกันไม่ให้ฝุ่นเข้าไปในมอเตอร์
- กรุณาอย่าใช้เครื่องดูดฝุ่นดูดอนุภาคขนาดเล็ก เช่น ซีเมนต์ ,ผงยิปซั่ม ,ผงผนัง ฯลฯ มิฉะนั้นจะทำให้แผ่นกรองฝุ่นหรือตะแกรงกรองของเครื่องดูดฝุ่นอุดตัน และทำให้มอเตอร์ไหม้และ ข้อบกพร่องอื่น ๆ
- เมื่อทำความสะอาดเครื่องดูดฝุ่น ,โปรดใช้ผ้าชุบน้ำหรือผงซักฟอกที่เป็นกลาง ,อย่าใช้น้ำมันเบนซิน ฯลฯ มิฉะนั้นจะทำให้เปลือกแตกหรือซีดจาง
- ก่อนใช้ผลิตภัณฑ์นี้ ,โปรดอ่านคู่มือการใช้งานและภาพประกอบอย่างละเอียด
- โปรดทิ้งผลิตภัณฑ์นี้อย่างถูกต้องและอย่าให้เด็กเล่น
- ห้ามใช้เครื่องใช้ไฟฟ้ากำลังสูงในสายเดียวกัน เพื่อป้องกัน วงจรไฟฟ้าเกินและเกิดอันตราย
- ห้ามใช้ผลิตภัณฑ์หากเกิดความเสียหายใดๆ
- โปรดเก็บคู่มือนี้ไว้ในที่ปลอดภัย


