Video - Cordless Mite Vaccum Cleaner
Ⅰ. Specification parameters
|
Product name |
Cordless Mite Vaccum Cleaner |
|
Rated power |
60W |
|
Model NO. |
CMYH003 |
|
Charging voltage |
5V |
|
Battery capacity |
2000mAh |
|
Operating voltage |
7.4V |
|
Charging current |
1A |
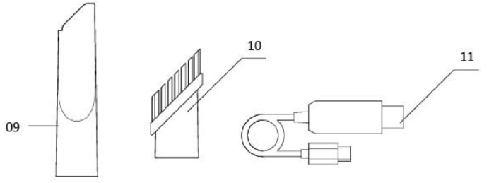
Ⅱ. Product structure and components


1. Power switch button
2. Mite removal base lock button
3.TYPE-C charging port
4. Air outlet
5. Beat vibration block
6. Control vibration switch
7. Rear wheel
8. Suction inlet
9. Flat Tube
10. Bristle brush
11. Charging cable
Ⅲ. Instructions
- Host dust cup assembly installation:
- Install the filter cover, filter piece and HEPA filter cover into the dust collecting cup according to the figure;

- Dust collecting cup
- Filter hood
- Filter
- HEPA filter hood
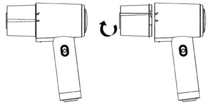
- As shown in the figure, align the positioning slot of the dust collecting cup assembly with the unlocking sign on the main engine, and then rotate the dust collecting cup assembly in the direction shown in the locking diagram. "Click" indicates successful installation;

- Position slot alignment unlocking
- Position slot alignment lock
- Mite removal and vacuuming mode
- Align the positive-negative positioning holes .
- Insert the host into the mite removal cleaning seat and hear "click";

- Vacuuming mode
- Insert the two-in-one flat suction into the host suction port, or insert the brush into the two-in-one flat suction for multiple purposes

- Product disassembly
Mite removal and vacuuming mode
- Press and hold the host latch button and the base to separate the host from the mite removal cleaning seat.

Ⅲ. Use Instructions
- Preparation before use
- Please use 5V,1A mobile phone charger to charge.
- Ensure that all components of the wireless mite remover are assembled in place.
- Check whether the power supply is sufficient to ensure the normal operation of the product.
- Charging instructions
- Insert the charging cable into the USB port and the other end into the TYPE-C port.
- Do not turn on the device during charging. The red indicator of the charging cable indicates the normal charging state, and the green indicator indicates the fully charged state.
- The machine will shut down when charging.
- Mite removal and dust absorption function
- In order to avoid damage to humans, animals and plants, UV lamp is equipped with mite removal cleaning seat contact switch.
- When the bottom of the machine touches the surface of the object, the contact switch of the mite removal cleaning seat is connected, and the ultraviolet lamp is used. Flapping module and open synchronously by external indicator light.
- When the bottom of the machine leaves the surface of the object, the contact switch of the mite removal cleaning seat is disconnected, and the outside light is wired. Slap module and UV light synchronously close the group.
- Attention
- When using a new battery or using a battery for the first time after long-term storage, charge the battery fully.
- Charge it at least 4 hours before first use
- Please charge fully before long-term storage. When the battery is in a state of lack of power, the machine cannot be charged, affecting normal use.
Ⅵ. Cleaning and Maintenance
- Cleaning the dust cup
- Rotate the dust cup in the direction as shown in the diagram and remove it from the main unit.

- Remove the Dust collecting cup,filter hood,filter,HEPA filter hood, and clean the HEPA filter hood.

- Dust collecting cup
- Filter hood
- Filter
- HEPA filter hood
Ⅴ. Safety precautions
- This product is not intended for use by persons with physical, sensory or trade impairments or persons lacking experience and common sense (including children), unless supervised or guided by others to ensure that it is safe to use.
- This product is only suitable for working in dry environment. Do not use it in humid environment.
- Do not smoke high temperature substances (cigarette butts, matches or hot ash), ultrafine substances (such as stone friends, cement, wood chips, gypsum powder, ash dew, carbon powder, etc.), large sharp debris (such as glass, iron nails, pins, etc.), dangerous: items (such as solvents, scale remover, etc.). Chemicals (e.g. acids, detergents, etc.) Flammable and explosive liquids (gasoline, alcohol products).
- Keep crystal producing air channels and moving parts away from hair, loose clothing, fingers and other parts of the body. Do not point air channels or tools at eyes, ears or in your mouth.
- Please check the cleaned area before use. If you find large pieces of paper, paper balls, plastic sheets or sharp objects, and anything thicker than the diameter of a straw, please remove them in advance. In order to avoid suction pipe sensitive plugging affect the use of products.
- When using, if the source electricity into the electric opportunity to spend away and abnormal sound, such as heat fuselage. Abnormal sound, odor, weak suction, etc., should be stopped immediately.
- Please check the dust collecting cup regularly. If there is more garbage in the garden, please clean it up in time. Keep the wind aperture unblocked to avoid suction drop and motor heating caused by blockage. Reduce the service life of the product.
- When cleaning this product, do not use lubrication, cleaning agent, sun polishing agent to clean any parts.
- When the machine fails, do not repair by yourself, please call the company's after-sales department for help.
- This product is a power tool, do not let the wireless mite vacuum cleaner in the case of unattended operation alone.
- Avoid letting wireless vacuum cleaner close to heating appliances or exposure to the sun, so as to avoid fire.
- Do not remove the dust cup, UV lamp cover plate and open the air hood when the machine is running, so as to avoid life injury or machine damage.