â . Technical Data
|
Product name |
HAIR DRYER |
|
Model No. |
CFJH003 |
|
Rated voltage (V) |
AC 220-240V~ |
|
Rated frequency (Hz) |
50-60 Hz |
|
Rated Power Input (W) |
RCY-8270I, RCY-8270 1800W |
|
Appliance Classes |
ClassII |
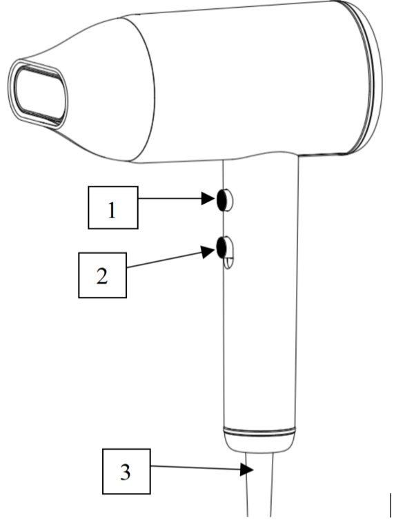
â Ą. Components and Installation Drawings

- Cooling switch
- Speeds switch
- Bushings
â Ē. Operation Instructions
1. Before use
- Remove your hairdryer carefully from the box. You may wish to store the packaging for future use.
2. In the box
Inside your hairdryer package you should have:
- Hairdryer
- Concentrator
- User guide
3. Read these instructions before use
- Assembly: Clip the concentrator onto the front of the hairdryer (if required).
- Switch on the main power
- Unwind the power cable and plug into the mains socket and switch on.
- Set the On/Off switch to the required settings (1 or 2). Position 2 is more heater than position
- Switching off. When you have finished, set the On/Off switch to the off (0) position.
4. Hair drying basics
- Shampoo and condition your hair. Rinse the hair thoroughly. Towel blot hair to remove excess moisture. Divide your hair into sections. Using the dryer along with a styling brush, direct hot air through a section of hair at a time. Move dryer steadily across each section so that hot air passes through hair. Direct air flow at hair, not scalp.
- Keep dryer's air intake vents unobstructed and free from hair while dryer.
- To avoid over-drying, do not concentrate heat on any one section for any length of time. Keep the dryer moving as you style.
- For quick styling, dampen hair with a mist of water before styling with the dryer.
- When using the dryer to create curls and waves, dry hair almost completely on the warmest setting, then finish styling using the lower setting. This will set the style in your hair.
- This dryer includes a concentrator attachment. Use the concentrator when you need to focus the drying power in a small area (such as a curl or a wave) or when you want to relax curly hair
5. If the hairdryer does not work
- Make sure it is plugged into the main supply and switch on.
- Make sure the ON/OFF button is on.
- Check the fuse in the plug (see Electrical Information).
- If the hairdryer still does not work properly, refer to your authorized service agent.
6. Cleaning
- Do not use liquid or aerosol cleaners.
- Clean your appliance with a soft, damp (not wet) cloth.
â Ģ. Safety Instruction
Read all the safety instructions before first use of your hairdryer.
WARNING: THIS HAIRDRYER IS LIVE UNTIL THE POWER IS DISCONNECTED AT THE MAINS. TO AVOID RISK OF ELECTRIC SHOCK:
- WARNING: Do not use this appliance near bathtubs, showers, basins or other vessels containing water.
- WARNING: Do not use this appliance near water.
- The airborne noise emitted by the appliance ≤90 dB(A).
- When the hairdryer is used in a bathroom, unplug it after use since the proximity of water presents a hazard even when the hairdryer is switched off.
- For additional protection, the installation of a residual current device (RCD) having a rated residual operating current not exceeding 30 mA is advisable in the electrical circuit supplying the bathroom. Ask your installer for advice.
- This appliance can be used by children aged from 8 years and above and persons with reduced physical, sensory or mental capabilities or lack of experience and knowledge if they have been given supervision or instruction concerning use of the appliance in a safe way and understand the hazards involved. Children shall not play with the appliance. Cleaning and user maintenance shall not be made by children without supervision.
- Children should be supervised to ensure that they do not play with the appliance.
- If the supply cord is damaged, it must be replaced by the manufacturer, its service agent or similarly qualified persons in order to avoid a hazard.
- Always unplug the hairdryer after use.
- Do not use or store the hairdryer where it can come into contact with water.
- This hairdryer should never be left unattended when plugged in.
- Do not pull or wrap power cord around the hair dryer.
- Close supervision is necessary when this appliance is used by, on , or near children.
- Do not use attachments not recommended by the manufacturer.
- Never operate the hairdryer if it has a damaged cord or plug or if it has been dropped into water. Return the appliance to a service centre for examination and repair.
- Keep the cord away form heated surfaces.
- Never block the air vents at the rear of the hairdryer, or place it on a soft surface where the air vents free of dust, hair, etc. Do not insert any objects into the air vents.
- Do not use outdoors, or where aerosol products are being used.
- Do not direct hot air toward eyes.
- Attachments may get hot in use. Use care when handling them.
- Do not put the hairdryer down while it is operating.
- Check that the voltage rating of this appliance matches that of your supply.
- If the appliance falls into water, UNPLUG IT IMMEDIATELY. Do not reach into the water until the power has been disconnected.
- Do not use the appliance if the power cord is damaged. It must be replaced by the manufacturer, the aftermarket service or by a sufficiently qualified person in order to prevent any risk of an accident.
- The mains lead of this appliance is not replaceable by the user. If the supply cord is damaged, it must be replaced by the manufacturer, its service agent or similarly qualified persons in order to avoid a hazard.
- Safety considerations
- Position the power supply lead so that it is not likely to be walked on or pinched by things placed on or against them.
- Do not use the hairdryer in humid or damp conditions. Do not allow the appliance to get wet i.e. dripping or splashing, as this may be dangerous.
- The slots and openings on the appliance are for ventilation. Do not cover or block them as it could lead to overheating.
- NEVER let children push anything into the holes or slots on the hairdryer.
â Ĩ. FAQ
- Q1: How many watts? How many gears are adjustable?
- A1: This hair dryer is 1800W, with 2 gears adjustable.
- Q2: Does the heating wire turn red?
- A2: Our products are guaranteed, and we provide 1-year warranty, so the wire won't turn red.
- Q3: Is it loud?
- A3: With a noise level of less than 78DB, this hair dryer is ideal for daily use.
- Q4: Are there both hot and cold winds?
- A4: Yes, it has a different mode.
- Q5: Does the handle get hot?
- A5: We have protection at the handle position, the handle won't get hot.
- Q6: Are there negative ions?
- A6: Sorry, this hair dryer doesn't have negative ions function.